第二章 自动线的辅助设备
2.1 工件输送装置
工件输送装置是自动线中最重要和最富有代表性的辅助设备,它将被加工工件从一个工位传送到下一工位,为保证自动线按生产节拍连续地工作提供条件,并从结构上把自动线的各台自动机床联系成为一个整体。
工件输送装置的型式与自动线工艺设备的类型和布局、被加工工件的结构和尺寸特性以及自动线工艺过程的特性等因素有关,因而其结构形式也是多样的。
根据现有自动线在工序间传送工件所采用的方法和机构,现将工件输送装置分类介绍。
2.1.1输料槽、输料道及其附属机构
1、 输料槽
在加工某些小型旋转体零件(例如盘状、环状零件、圆柱滚子、活塞销、齿轮等等)的自动线中,常采用输料槽作为基本输送装置。
输料槽有利用工件自重输送和强制输送两种型式。由于自重输送的输料槽(简称滚道)不需要其它动力源和特殊装置,因而结构简单,因此,对于小型旋转体工件,大多采用以自重滚送的办法实现自动输送。只有在无法用自重输送或为了保证运送的可靠性时,才采用强制输送的输料槽。
输料槽的截面形状与自动装卸工件装置中的输料槽是相同的,在前面章节中已经介绍。
作为自动线输送装置的输料槽,为了将相邻的两台机床联接起来,自然要比自动装卸工件装置中的输料槽长得多,而且根据机床和提升机构的具体布局情况,常常还需在某一段做成弯曲滚道。实践经验证明,输料槽的结构虽然简单,但若不予足够的重视,则工件在较长的滚道里靠自重输送的过程中,常常因阻塞或失去定向,甚至跳出槽外等故障而不能正常工作。因此,分析影响工件在滚道中正常运送的因素,研究保证工作稳定性的条件,具有重要意义。
(1)、工件形状特性与槽宽的关系
工件在滚道中以自重运送时,最重要的形状特性是长径比(L/D)。输料槽截面宽度B,主要根据工件的长径比来决定。如图2-1所示,工件在输料槽中滚动时,由于存在间隙S,可能因摩擦阻力的变化或工件存在一定锥度误差而偏转一个角度(图2-1a)。当工件的对角线长度C接近或小于槽宽B时,就可能卡住或完全偏转失去原有定向。
当工件偏转到两对角与输料槽侧壁接触时,其对角线C与垂直于侧壁的OM线所成的夹角为γ,此γ角应比摩擦角ρ大,即
(摩擦系数)。反之,若如图所示ρ>γ,则O点的反作用合力R有使工件在Oˊ楔紧的趋势,则工件可能卡住。
从图2-1可如:

图2—1 工件在输料槽中输送的条件 |

即 
因为
,所以

在极限情况下,
,根据三角函数的基本关系有:

代入上式可得允许的最大间隙:
(2-1)
从式(2-1)可知,为了工件不被卡住所允许的最大间隙Sk与工件的长径比和摩擦系数有关。随着L/D的增大,对角线长度C将愈加接近L,允许的Sk值亦将减小,当L/D增大到一定程度时,允许的最大间隙Sk可能为零,这就表明工件在输料槽中已不能可靠地靠自重运送。一般当L/D>3.5~4时,工件以自重滚送的可靠性就很差了。
工件偏转的程度还与其端面形状有关,如图2-1b其L/D虽与图a一样,但由于两端倒角,所以偏转得厉害一些,因此在应用式(2-1)时,应以计算直径Dj代替式中的D。在图b、图c中,计算直径分别为
和
。
用式(2-1)计算出来的Sk是在一定的摩擦系数下允许的最大间隙,一般都用于校核计算。在实际决定槽宽B时,应考虑槽宽的制造公差
和工件的长度公差
,实际最大间隙为:
(2-2)
式中 S0——为了保证工件在槽中滚送所必需的最小间隙(可以L为公称尺寸,按h8~h13选取);
——工件长度公差;
——输料槽宽度B的制造公差。
用式(2-1)校核时,应使
(2-3)
图2-2输料槽的结构 |
当不能满足式(2-3)的条件,或用式(2-1)计算出
=0甚至为负值时,则表明该工件不宜用自重输送,须采用其它方式(如强制)输送。
(2)、输料槽的结构和制造精度
输料槽的结构不良或制造精度不高,会增加工件在运送过程中的摩擦阻力,直接影响输送装置的可靠性。
对于圆柱体、盘状及环状工件,输料槽通常按图1-4a所示,用钢板弯成U形;在倾斜角较大、滚送速度高时则做成封闭式。一般如用手工制作,则输料槽底部转角处呈现圆角,甚至侧壁也存在较大的弯曲误差。在自动线中采用这种结构形式或制作粗糙的输料槽,大多数情况下不能满意地工作。
有些自动线,如图2-2a所示,输料槽的底部用两个长板条1或两根圆棒2代替整个滚动平面,这样就比较容易达到较高的制造精度和大大地减小摩擦阻力。
图2-3 强制运送的输料槽 |
滚道侧壁所产生的阻力也是不可忽视的。侧壁愈高则阻力愈大,但也不能做得过低,否则,如果工件在较长的输料槽中以较大的加速度运送到终点时,碰撞的工件就可能跳起来,产生歪斜,卡住后面的工件,甚至跳出槽外。所以根据工件的形状应使侧壁有一定的高度,一般推荐,对于圆柱工件,侧壁高度H=(0.6~0.8)D;对于盘状和环状工件H≥D,当用整条长板做侧壁时,应如图2-2a所示,开以长窗口3,一方面减小摩擦阻力,同时便于观察工件的运送情况。此外,侧壁应具有足够的刚性和制造精度,避免产生波浪式的弯曲和在工件经常摩擦及碰撞下形成局部凸起或凹陷的情况。
在某些轴承自动线中,用圆棒代替长板形侧壁(图2-2b)得到了较为满意的工作效果。
(3)、输料槽的倾斜角
一般说来,输料槽的倾斜角愈大,则工件滚送时克服阻力的能力愈强。但倾斜角过大时,一方面易使工件运送速度过大,产生不良后果;另一方面,有时在两台机床之间的输料槽高度差过大,会引起结构和布局上的不合理。因此,倾斜角应根据实际情况合理地确定。当工件滚送时的阻力较大(例如工件的表面粗糙或存在形状误差,输料槽的工作条件不洁净,间隙S较大等)时,倾斜角应较大。在要求具有较小的倾斜角时,为了保证工作的可靠性,必要时须经过试验确定。根据经验,倾斜角约在5°~15°之间。
与自重运送的输料槽相比,因为强制运送的输料槽由外力推动工件,所以无需倾斜放置。图2-3为某轴承自动线所用强制运送的输料槽。在输料槽3的两边设有封闭式链条4,通过电动机6、减速器1带动链轮2转动。在两列链条4上按一定距离连接着推送杆5,链条移动时,杆5便将工件推送向前。
强制运送的输料槽需要附加传动装置,结构比较复杂,但工作可靠性比靠自重运送的为好。
2、输料道
图2-5径向传送工件时料道上V形板的间距 图2-6轴向传送工件时料道上V形板的间距 |
图2-4重力断续滚送料道示意图 1-工件2-隔离块3-重锤 |
加工外形较复杂、尺寸较长的轴类工件的自动线,常采用输料道输送工件。输料道输送也分为自重滚送与强制运送两种形式。较重的工件或精加工后的工件,采用自重滚送的型式输送时,为了减缓工件的下落速度及避免工件相互碰撞,可采用缓冲断续滚送的方式,即在料道中安装可以摆动的隔离块(参看图2-4a),当前面一个工件压在隔离块的小端时,扇形大端便向上翘起,将后面一个工件挡住。隔离块还可以安装摆锤或弹簧,调整摆锤高度或弹簧力,能改变滚动阻力,使工件平稳地逐个滚送(图2-4b)。
与自重运送的输料槽一样,自重运送的输料道也必须倾斜一个角度。
对于径向传送工件的料道,其V形板的安装间距P(图2-5)应尽可能的小,以便能贮存较多的工件,但必须保证机械手或提升机构有足够的抓放工件的位置。
对于轴向传送工件的料道,其V形板的间距t(图2-6),可由下式计算:
(mm)
式中 L——工件的长度(mm);
图2-7 链式连续传动的提升机构 |
S——工件之间的间隙(mm)。
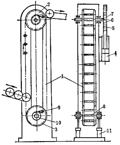
3、提升机构
在采用自重运送的输料槽或输料道时,往往不可能依靠机床的立面布局来形成输料槽(或输料道)两端必要的高度差,必须采用提升机构将上一工序送出的工件提升到一定高度,然后靠自重滚送到下一台机床。
提升机构有连续传动和间歇传动两种类型。连续传动的提升机构大多采用链条传动。间歇传动的提升机构可以采用链条,也可以采用顶杆。对于生产节拍较短的环、盘类零件加工自动线,一般采用连续传动的方式,对于生产节拍较长的轴、套类零件加工自动线,则多采用间歇传动的方式。
图2-7为某汽油发动机挺杆体磨削自动线中所用的链条连续传动提升机构。提升机构的主体用两条槽钢4和5组成,用若干个隔离套6和螺钉7联接,两边用钢板8,9和10封住。两根链条1用夹块11和销子连在一起,装在上、下两个链轮2和13上。在链条1上每隔一定节距装有拨料板3,工件(挺杆体)从提升机的进口I进入,落在拨料板3上以后被带着向上运动,从出口II送出,链轮13通过电动机14和减速器12连续传动。
图2-8链式间歇传动的提升机构 图2-9顶杆式提升机构 |
这种提升机构可以根据工件的具体形状和尺寸,采用单列链条或双列链条;在链条上可以安装不同的提升构件(如平板、销子、钩钉等)。其连续传动的动力源除了用电动机以外,也可采用液压马达。
图2-8为某油泵齿轮自动线中所用的链条式间歇传动提升机构。两条平行的链条1安装在链轮2和3上。链条之间按一定的节距用小轴相连,两个小轴之间的距离正好容纳一个工件(齿轮)。链轮轴7上装有齿轮6,与油缸4所驱动的齿条5相啮合。活塞每往复一次,链条移动一个步距。为了避免活塞回程时带动链轮倒转,轴7和轴8都以棘轮机构9、10(借用自行车的“飞”)与链轮相联,轴8是固定不转的,并可借调节机构11调整两链轮的中心距。
这种提升机构同时还能起到一定的贮料作用。
图2-9是顶杆式间歇提升机构的结构原理。顶料板2由活塞杆1驱动作上下往复运动,每向上一次,就把一个工件4沿提升机主体的内腔向上推移一个距离。此时工件从弹性掣子3上滑过。活塞向下回程时,工件被弹性掣子3阻住不能落下,因此,当顶料板不断往复推料时,就能将工件一个顶着另一个地不断向上提升。
这种提升机构的结构简单而紧凑,但须在主体内充满工件后才能将最上一个工件送出;同时工件不宜过重,否则顶抬力要求很大,且易压伤工件表面。在顶料板行程终点的附近应开活门以便在调整或修理时从提升机主体内取出积存的工件。
4、附属机构
(1)、分路机构
在应用输料槽的自动线中,若某些工序的生产率较低,为了平衡前后工序的生产节拍,常常把相同的机床并联起来。这时,从上一台机床运来的工件,需用分路机构分配到并联的各台机床上去。
图2-10 分路机构(一) 图2-11 分路机构(二) |
图2-10是油泵齿轮自动线中根据“按需分配”原则工作的分路机构,它供两台并联的滚齿机作分配工件之用。在上一台机床加工完成的齿坯从进料滚道7送到分路器的位置Ⅰ的分料叉1中;分料叉与活塞杆2相联。活塞杆的两端是油缸3和4,分别与两台滚齿机的油路相联。当某一台滚齿机加工完毕时,其相应的油缸通油一次,将齿坯拉到相应的分路位置II或III处,再从出料口5或6经输料槽送到该机床上去。
图2-11为顺序分配的分路机构,用以分送小型轴类工件(如丝锥、钻头)。分料器接头4固定在支架1上,其上有若干个分料孔,用导管5分别与各台机床相通。接头4的上部装有可转动的接料套2和转环3。转环3上装有棘爪7,与接料套2外圆周上的棘齿相啮合。当工件进入接料套2之前,先在输料槽内碰撞微动开关,使电磁铁9通电,于是通过拉杆10、11、6、转环3带动接料套2逆时针方向回转一个角度,与另一出料导管5相通,工件便送到相应的机床上去。电磁铁9断电后,弹簧8使转环3复位。
在某些加工环状工件的自动线中,常常在输料槽中开以若干活门,利用电磁铁的通断启闭活门使工件分路。这种分路机构的结构轻简单,但要使用较多的电磁铁和行程开关,因而电控线路相应要复杂一些。
(2)、转向和定向机构
当按工艺要求把工件送到下一台机床需改变其方向时,要采用转向机构。当工件在输送过程中出现位置或方向不符合要求时,需利用定向机构予以校正。
图2-12 转向机构 |
通常,这类机构都是根据工件的外形或结构特点和定向要求来设计的。
图2-12中表示了几种转向机构的例子。
图2-12 a的转向器2可绕轴心5摆动,在重块4的作用下,处于K向所示位置。当工件从滑道1送到转向器2上后,由于左边的重量大于重块4,于是转向器2逆时针方向摆动,工件便沿斜面进入滚道3内。如果不设此转向器,则工件从滑道1滑至转角处时,可能偏斜而不能顺利滚动。图b为圆锥形转向器,将工件从滚动状态变为滑送。图c为圆盘式转向器,回转180°后将工件调头。图d为利用输料槽的弯曲部分使工件在运送过程中调头。图e 和图f是利用输料槽的特殊组合结构,使环状(或盘状)工件由滚动变为滑送和使之调头。图g是一种使十字轴转向的机构,棘爪2装在滑板4上,由气缸1驱动。当气缸驱使滑板带着棘爪往左回程时,棘爪绕轴3摆动,而从十字轴(工件)5上滑过; 当气缸向前行程时,双臂棘爪(即后面两个棘爪)推动工件5沿着输料槽6前进,而最前面的一个单臂棘爪则将工件拔转90°。
图2-13 定向机构之一 |
图2-13至图2-15为几种定向机构的例子。当工件为小型台阶轴,其重心又位于小直径一端时(图2-13a左上角),可以利用工件的重心来定向。如图2-13a所示,工件5从输料管1滑到倾斜板2以后,由于其重心在小直径一端,故作弧形滚动,落入倾斜板两侧的料糟3中,因而可以保证工件以大端朝前定向从输料槽4送出。对于重心位于大直径一端的台阶轴,可以采用图2-13b所示的机构定向。图中1为料仓,堆满了工件。定向板3上开有两头窄中间宽的落料口。推料板2与驱动机构(图中未示出)相连。当推料板作往复运动,将工件逐个向左推送时,工件便经由落料口定向,以小头朝前,从出料道4输出。
对于较长而两端直径不同的工件,可以用限位销子来定向。如图2-14a 所示,料斗1的一侧装有两个限位销子2,工件被送入料斗时,小直径一端可以从销子与箱壁之间的空间通过,而大端则被另一销子挡住,因而可保证小头先落下。对于一端具有闭孔的圆柱体,则可以用定向叉定向。图2-14b中定向叉1 在重块2的作用下顺时针方向回转到一定位置。当工件以闭端向前送来时,将碰撞定向叉1仍然以闭端向前落下。如果是开端在前,则如图所示套在定向叉1 上,与定向叉1一同逆时针方向回转,然后以闭端向前落下。
图2-14定向机构之二 |
图2-15利用液体浮力的定向机构 |
图2-15为浮力定向机构。油箱5中充满了油液6,并安放有喇叭形料道2、挡板3和链式输送带4。工件为一个带扁尾的圆柱体(见图2-15中上部)。由于扁尾一端较轻,圆柱体一端较重,两端浮力不同,故工件从料道1掉入油箱5中时,工件便以较重的圆柱部分先行,经由料道2到达链式输送带4上。因此可以保证,输送出去的工件,其圆柱部分均排列在右边。
2.1.2 架空式机械手
在自动线中用作输送设备的机械手,如图2-16所示,机械手用桁架架设在自动线的上方,故称为架空式机械手。如图所示,机械手在机床间同时进行输送和装卸工作,每一循环中需完成下列动作:
(1)机械手下降,从前一台机床上取下已加工工件;
(2)机械手带着工件上升;
(3)机械手纵向移动,将工件运送到后一台机床的上方;
(4)机械手下降,将工件安放到夹具上;
(5)机械手上升;
(6)机械手纵向回程到原位,等候完成加工循环。
图2-16 QDX-1曲轴动平衡自动线立面布置示意图 1-测量动平衡机2-第一去重组合钻床3-第二去重组合钻床4-清洗机5.检验动平衡机 6.机械手桁架7、9、11、13-架空式机械手8、10、12、14-液压控制板15-液压马达 |
分析以上过程可知,机械手需具备三个方面的传动装置:
(1)机械手的升降运动;
(2)夹爪的张合;
(3)机械手的纵向往复运动。
有关(1)、(2)的传动原理与第一章所述装卸工件的机械手是类似的。在自动线中,机械手的升降运动大多采用液压(或气压)传动。夹爪的传动则根据具体情况而定,对于尺寸小,重量轻的工件,为了简化结构,可以采用弹簧式夹爪;但对于尺寸较大或比较重的工件,为了保证输送过程的可靠性,夹爪应采用液压(或气压)传动。
2.1.3步伐式输送装置
步伐式输送装置是组合机床自动线上典型的工件输送装置。在加工箱体类零件的自动线以及带随行夹具的自动线中,使用非常普遍。常见的步伐式输送装置有棘爪步伐式、回转步伐式以及抬起步伐式等几种,下面分别于以介绍。
1、棘爪式步伐输送装置
图2-17棘爪式输送带动作原理图 |
(1)、棘爪式输送带
图2-17是组合机床自动线中最常用的棘爪式输送带,在输送带1上装有若干个棘爪2,每一棘爪都可绕销轴3转动,棘爪的前端顶在工件6的后端,下端被挡销4挡住。当输送带向前运动时,棘爪2就推动工件移动一个步距;当输送带回程时,棘爪被工件压下,于是绕销轴3回转而将弹簧5拉伸,并从工件下面滑过,待退出工件之后,棘爪又复抬起。
图2-18 输送带的支承滚子 |
棘爪式输送带1是支承在滚子2上作往复运动的(图2-18)。支承滚子通常安装在机床夹具上,支承滚子的数量应视机床间距的大小而定,一般可每隔一米左右安装一个。输送时,工件3在两条支承板5上滑动,两侧限位板4是用来导向的。当工件较宽时,用一条输送带运送工件容易歪斜,这时可用同步动作的两条输送带来推动工件。
图2-19棘爪式步伐输送带结构 |
棘爪式输送带的结构,如图2-19所示,它由若干个中间棘爪1、一个首端棘爪2和一个末端棘爪3装在两条平行的侧板4上所组成。由于整个输送带比较长,考虑到制造及装配工艺性,一般都把它做成若干节,然后再用联接板5联成整体。输送带中间的棘爪,一般都做成等距离的,但根据实际需要,也可以将某些中间棘爪的间距设计成不等距的。自动线的首端棘爪及未端棘爪,与其相邻棘爪之间的距离,根据实际需要,可以做得比输送步距短一些,但首端棘爪的间距至少应可容纳一个工件。大连组合机床研究所设计的通用输送带,中间棘爪之间的距离采用350~1600毫米,首端棘爪的间距不小于310毫米,末端棘爪的间距不小于155毫米。
大连组合机床研究所设计的通用输送带,其棘爪与工件之间的联系尺寸如图2-20所示。这种输送带的棘爪高度H有15毫米和25毫米两种规格,可以根据工件具体结构选用。
|
因为步伐式输送装置是一种刚性联接的装置,因此输送带的结构尺寸不仅与输送步距有关,而且与机床在安装调整时的实际距离有关,所以设计输送带时还应注意以下几点:
|
① 在一节输送带上,最好只安装一台机床加工工位的棘爪。如果在一节输送带上装有两台机床的棘爪,则不但要求棘爪间具有精确的距离,而且机床安装时的中心距离要求也很严,这是不合理的。
为了便于调整工作,可以采用如图2-21的微调棘爪。在全线安装调试时装好棘爪,当再一次重新安装自动线时,可以根据机床的实际距离,通过螺钉3对相邻两棘爪端面间的距离A进行微调,只有当两台机床间的安装误差过大,超出螺钉3的调整范围以外时,才修磨某一棘爪的前端a部。
② 联接板一般固定在前一节输送带上,在制造单位安装调试后,联接板与后一节输送带在中间打一个定位销(见图2-19中K处),运到使用单位时须重新调整,调好后再另打两个定位销。
为了调整方便,在设计各节输送带的长度时,应该注意到使输送带向前到达终点的时候,联接板恰好处于机床间的空位上。
③ 调整输送带时,输送带向前到达终点,工件应比规定的定位安装位置滞后0.3~0.5毫米(图2-22)。在定位时,定位销以顶端锥度引进工件的定位孔,把工件向前拉到准确的安装位置。如果不留这一滞后量,万一工件在到达终点因惯性而超程时,可能会引起工件定位的困难。因为在这种情况下,插销定位时需把工件引向后退,而工件后端因被棘爪阻挡,往往没有足够的退路,以致定位销不能插进孔中。
图2-24 回转步伐输送装置动作示意图 |
图2-22步伐式输送带的调整位置示意图 图2-23机械驱动的输送装置 |
④ 由于棘爪式输送带不便于在工件的前方设置挡块,所以向前输送速度一般不宜大于16米/分,并且应在行程之末装设行程节流阀减速,以防止工件因惯性前冲而不能保证位置精度。一般推荐在终点前30~60毫米处开始节流。
(2)、输送带的传动装置
步伐式输送带的传动,可以采用机械驱动或者液压驱动。
图2-23所示,是一种机械驱动的输送装置。它由通用的机械滑台传动装置1及输送滑台3组成。工作时,快速电动机5起动,通过丝杆、螺母驱动滑台3,带动输送带2前进,接近终点时,快速电动机5停止而慢进电动机4起动,使工件准确到位。待工件定位夹紧之后,快速电动机5起动反转,使输送带快速返回。这种传动装置,纵向长度大,占地面积多,但结构简单,通用化程度高,一般多用于输送行程较短、不采用液压传动系统的自动线上。
采用液压驱动的输送装置,可以得到较大的驱动力和输送速度,实现缓冲比较容易,调整也方便。加以目前绝大多数的自动线中都具有液压传动系统,所以液压驱动的输送装置得到了广泛的应用。
2、回转步伐输送装置
棘爪步伐输送装置虽然动作简单(因而其传动机构简单),但当输送速度较高时,工件在到达终点时往往因惯性作用向前超程而不能保证位置精度。此外,由于切屑掉入,偶尔也有棘爪卡死、输送失灵的现象。为了提高输送速度及输送工作的可靠性,可以采用回转步伐输送装置。图2-24a所示为这种输送装置的动作示意图。输送带1上的拨爪2是刚性的,工作时输送带先回转一个角度,让拨爪卡住工件(或随行夹具)3的两端,再向前输送一个步距。待输送带到达终点,将工件定位夹紧后,输送带1反转使拨爪2脱开工件(或随行夹具),然后退回原位。图2-24b为回转步伐输送装置输送的一个实例。在输送带5的带动下,装有活塞(工件)3的随行夹具2,可在T形导轨1上移动。处于原位时,固装在输送带5上的成形卡板4竖起在虚线位置。输送时,卡板4与输送带5一起回转45°,使卡板的每一个凹槽卡着一个随行夹具2,同时把四个活塞向前移动一个步距。输送到位后,卡板反转45°而离开工件,输送带5接着退回原位。由于卡板的凹槽,具有限位的作用,可以保证工件输送到终点时具有比较准确的位置,因而这种输送装置,允许采用较高的输送速度(可达20米/分以上)。但回转步伐输送装置的运动较为复杂,除了前进、退回的往复运动外,还有回转运动,所以,它比一般棘爪式输送装置,要多一个回转机构。
图2-25回转步伐输送装置 1. 圆杆 2. 回转机构, 3.回转接头 4.活塞杆 5. 油缸, 6. 缓冲器, 7. 支承滚轮 |
典型的回转步伐输送装置的结构简图,如图2-25所示,整个输送带由若干节圆杆l 组成,两节的接合处采用了配合,然后用两个互成90°的销子固定。圆杆直径有40、50、60、70毫米几种,其相应的端部小头直径为25、35、40、45毫米。输送带的支承滚轮7一般做成腰鼓形。输送带的往复运动大多数采用液压油缸驱动。为了让输送带回转,活塞杆4与输送带之间采用能相对转动的回转接头3联接。为使行程未端不发生冲击,油缸5两端设有缓冲器6。输送带的回转运动是由专用的回转机构2实现的。
3、抬起式步伐输送装置
图2-26和图2-27为抬起式步伐输送装置。输送时,先把工件抬起一个高度,向前移动一个步距,将工件放到夹具上或空工位的支承上,然后输送带再返回原位。用这种方式,可以输送缺乏良好输送基面的工件以及需要保护基面的有色金属工件和高精度工件。
在图2-26中,输送带7的往复运动由输送传动装置8驱动,其升降运动则由齿条、齿轮和凸轮机构实现。工作时,油缸(图中末示出)驱动齿条1,带动齿轮2、轴3和凸轮4,迫使顶杆5及支承滚轮6上下移动,因而可使输送带升降。这种装置因受凸轮升高量的限制,升降行程一般比较小,故较适用于输送需要保护基面的高精度工件及有色金属工件(这类工件只需抬高几毫米即可)。
图2-26气缸体精加工自动线的抬起式步伐输送器
图2-27曲轴自动线的抬起式步伐输送器 |
对于外形不规则、缺乏良好输送基面的壳体、大箱体和细长轴类工件,要采用抬起步伐输送装置输送,往往需要有较大的升降行程。此时可以采用如图2-27所示的齿条齿轮机构。图示为输送曲轴的情况。上料时,曲轴1以中间轴颈放在输送带3的V形块2上。输送时,先由油缸5驱动齿条6,经过齿轮齿条使支承滚轮7上升,将输送带3抬起一定高度,然后再由传动装置4将其向前移动一个步距。在夹具及空工位上设有V形支承块8,以便在输送带3升降时托住曲轴。当输送带下降并将工件放到支承V形块8上以后,输送带再迅速退回原位。
当采用升降行程较大的抬起式步伐输送装置时,要注意两个问题:第一,为了保证输送工作的可靠性,往往在输送带上设有保持工件位置稳定的定位元件;第二,为了让输送带及工件通过,夹具的上、下方向需有足够的敞开空间。
4、托盘步伐输送装置。
托盘步伐输送装置也是一种步伐输送装置,但和一般步伐输送装置不同,工件不是在支承板上滑移,而是放在托盘中由步伐输送带运走。托盘是固定在输送带上的。简单的托盘只是一个支承工件的平板。为了在输送过程中保持工件位置正确,托盘中设有工件定位元件,但没有夹紧机构。
图2-28 托盘输送带 |
图2-28所示为连杆螺栓孔加工自动线上的一组托盘输送带。二条错开布置但同步动作的步伐式输送带1和2,分别装有若干个卧式的托盘5和6,输送带可以在支承滚轮4上往复运动,并有侧导向滚轮3导向。其传动装置与一般步伐输送带的传动装置是一样的。为了满足自动线同时加工四副连杆的要求,每输送一次,托盘5可运载四个连杆体,托盘6可运载四个连杆盖。托盘5上的定位销9和侧限位块10,以及托盘6上的半圆块7和侧限位块8,是输送连杆体和连杆盖时定位用的。
5、步伐输送带—机械手输送装置
图2-29为曲轴油孔加工自动线的输送示意图。工件6的输送是由步伐输送带2的往复运动与机械手7的升降运动互相配合而实现的,活动夹具5与步伐输送带2之间采用插销联接。由于输送带上的销孔(图中未示出)在输送方向上略成椭圆形,活动夹具上的插销为圆柱形,配合有一些间隙,故活动夹具在输送方向上具有一定的浮动余地,当活动夹具被输送到位进行定位夹紧时,定位销便可以顺利地插入定位孔中。
这种输送方法的工作过程如下:
1-导轨 2-输送带 3-定位油缸 4-夹紧油缸 5-活动夹具 6-工件 7-机械手 |
(1)输送带2向前移动一个步距,将载有工件6的活动夹具5牵引至下一工位。接着定位油缸3动作使定位销插入活动夹具的定位孔中,夹紧油缸4动作使顶料棒顶紧工件。然后进行加工。
(2)加工完毕后,夹紧油缸4松开,机械手7下降,将工件6抓紧并提起。
(3)定位油缸3向下拔出定位销,输送带和空着的活动夹具返回原位。
(4)上料工位及其工位的机械手7下降,将工件放在活动夹具上,然后上升返回,并开始下一个工作循环。
这种输送方法的特点是:以活动夹具代替随行夹具,活动夹具既参与加工工作,也参与输送工作。由于活动夹具固定在输送带上,机械手抓起工件后,活动夹具可与输送带一起返回,故自动线不需另设返回系统。但与一般步伐输送的自动线相比,因其输送带返回时间及机械手抓起工件或放下工件的时间,均不可能与加工时间相重合,工作循环时间可能长一些。
这种输送方式,工件不必在支承板上滑移,比较适于运送外形复杂缺乏理想输送基面的零件。
2.1.4随行夹具的退回装置
在组合机床自动线中,对于某些形状复杂、缺少可靠输送基面的工件或有色金属工件,常常采用随行夹具作为定位夹紧和自动输送的附加装置。随行夹具可以做出一个很可靠的输送基面,并采用“一面两孔”的典型定位方式在自动线的工位上安装,从而使某些原来不便于在组合机床自动线上加工的工件成为可能,扩大了自动线的应用范围。
|
为了使随行夹具能在自动线上循环工作,当工件加工完毕从随行夹具上卸下以后,随行夹具必须重新返回原始位置。所以在使用随行夹具的自动线上,应具有随行夹具的返回装置。
随行夹具的返回装置,包括返回输送带及与主输送带的联接机构。
1、随行夹具的返回方式
(1)、水平返回方式
图2-30所示,为随行夹具在水平面内作框形运动返回的示意图。图2-30a中的返回输送装置由三条步伐式输送带1、2、3所组成,三条输送带按一定的先后顺序步伐移动。在卸料工位卸下工件后,随行夹具在加工时间内一步一步地经过П形路线回到上料工位。图2-30b是采用三段链条传动以代替步伐式输送带。图2-30c为半圆形链条返回输送带。这种方案比图2-30b占地面积较小,但须注意随行夹具在返回过程中已回转了180°,必要时须在自动线中添设转位装置。
为了有效地利用生产面积,有时把自动线布置成封闭框形。如图2-31所示,把工件两侧面和顶面的加工工位布置在两条纵向输送带上,两端面的加工工位安排在横向输送带上,这样便无须设置专门的返回输送带。但须注意这种方案具有占地面积较短而阔的特点。
水平返回随行夹具使自动线形成封闭框形,为了进入框内必须架桥梯从输送带上跨过。这种方式敞开性好,但占地面积较大,最适用于随行夹具比较重或尺寸较大的情况。
(2)、上方返回方式
图2-31框形布置的自动线 |
|
随行夹具从上方返回,使自动线的结构比较紧凑,占地面积小,但不宜于布置立式机床。图2-32所示为从机床上面返回随行夹具的示意图。随行夹具2在自动线的末端用提升装置3升到机床上方后,经返回输送带4送回自动线的始端,然后用下降装置5降到主输送带1上。有的返回输送带是一条倾斜(1:50)滚道,随行夹具被提升后,在自重的作用下返回。这种方案结构简单,但对于工位多而布局很长的自动线不甚适宜。
图2-33所示为随行夹具从机床的后上方返回的示意图。这种自动线可以布置立式机床,但由于返回输送带2设在机床的后上方,故主输送带1与返回输送带2之间的联接机构较为复杂。
|
(3)、下方返回方式
图2-34为小型自动线随行夹具从下方返回的输送示意图。装着工件的随行夹具2,由输送油缸1直接驱动,一个顶着一个地沿着输送导轨移动到加工工位。全部工序完毕后,工件连同随行夹具一起被送入自动线末端的回转鼓轮5,然后翻转至下面,经机床底座内的步伐式返回输送带4送回自动线的始端,再由回转鼓轮3从下面翻转至上面的装卸工位。两个回转鼓轮是同时动作的。当鼓轮回转时,返回输送带处于中间位置。当鼓轮不动时,返回输送带从鼓轮5中拉出随行夹具和工件并向鼓轮3送入随行夹具和工件。
所谓下方返回,是从底座内返回,这种方式结构紧凑,占地面积小,但维修调整不便,也影响底座的刚性和排屑装置的布置。这种方式多用于工位不多、加工精度不高的小型组合机床自动线上。
|
2、升降装置
随行夹具从下方返回的小型自动线,其主输送带与返回输送带的高度距离较小,利用回转鼓轮来升降随行夹具是很方便的。但对于随行夹具从上方返回的自动线就不合适了,此时在自动线的始端和末端需要设置升降装置来实现随行夹具的升降。
常用的升降装置结构原理如图2-35所示。这是一种利用钢绳增倍的机构。由于钢绳6的一端固定,另一端悬挂着升降台2,故当油缸1中的活塞杆推动装有滑轮7的滑架4沿着导柱5移动时,升降台2便以双倍的速度与行程跟着移动。升降台2升到顶端时,在杠杆3的作用下,使其倾斜一个角度,将随行夹具送到倾斜滚道上,以便自由返回。(如果返回输送带为步伐式输送带时,可由输送带直接伸入升降台拉走工件,无须杠杆机构)。升降台的定程借助挡铁9和限位开关8、10来实现,升降台上是否有随行夹具则由限位开关11检查。
3、返回输送带
返回输送带与机床没有严格的互锁要求,为了减少随行夹具在返回输送带上的停留时间,加快随行夹具的周转,减少随行夹具的数量,返回输送带应该使用较高的输送速度或采用连续的运动形式。
返回输送带有步伐式、滚道式和链条式等几种。当随行夹具从上方返回且自动线较短时。多采用滚追式,靠随行夹具的自重沿倾斜滚道自行滑回。滚道的倾斜度视其结构及随行夹具大小等情况而定,当滚道采用滚珠轴承滚子时,其倾斜度一般取1.5/100~3.5/100,当随行夹具从下方返回,或随行夹具从上方返回而自动线较长时,一般采用强制输送的步伐式返回输送带。此时为了减少随行夹具数量,返回输送带常常是连续动作几次,直至一个随行夹具被送至自动线始端的升降装置后,返回输送带才停止在终端;当随行夹具在水平面返回时,返回输送带多采用连续运动的链条式结构。
|
链条式返回输送带,一般由三段链条,即自动线始端的横向链、纵向链及末端横向链所组成。三段链条可以由各自的传动装置分别传动,也可以用锥齿轮将三段链条联接起来由一个传动装置集中传动(图2-36)。采用分散传动的方案时,各段链条运送工件的棘爪不要求有严格的相互位置,但必须控制三条链条依次动作。采用集中传动的方案时,横向棘爪与纵向棘爪的相互位置必须正确安排,保证一定的传动关系,以免链条在运转的过程中出现纵向棘爪与横向棘爪同时挂上随行夹具的干涉现象。
|
图2-37所示为链式返回输送带棘爪位置安排的一个例子。返回工作循环开始时,自动线的装卸料工位上没有随行夹具,行程开关XK1处于释放状态;自动线末端的工位上有随行夹具,行程开关XK2被压下,因而发出信号令返回输送带运行。于是随行夹具2和4放开,行程开关XK3和XK2继续返回,当运行到终点状态时,随行夹具l返回到装卸料工位,压下XK1。随后,随行夹具3也运行到纵向链的中点位置,压下XK3,发出信号令返回输送带停止运行,于是,一个返回工作循环完毕。由于棘爪位置安排得合理以及锥齿轮传动保证了它们的运动关系,所以能做到:随行夹具4到达3的位置时,横向棘爪A脱开后,纵向棘爪B才挂上;随行夹具2到达1的位置时,纵向棘爪B脱开后横向棘爪C才挂上,在整个工作过程中,三段链条的棘爪始终不产生于涉现象。而且每次工作循环完了时,三段链条的棘爪仍然处于开始状态时的位置。
这种返回输送带的链条节数及锥齿轮传动比,可以按下述方法进行计算:
(1)、链条节数 设同一段链条中的两个链轮大小相同,各段链条的节距相等,则横向链条的节数Wa和纵向链条的节数Wb可由下列两式分别算出:

式中 t ——套筒滚子链条的节距(毫米);
la、lb ——分别为横向链链轮的中心距及纵向链链轮的中心距(毫米),
Na、Nb ——分别为横向链链轮齿数和纵向链链轮齿数。
链轮的齿数建议在20~40之间选取。为了通用化起见,横向链链轮和纵向链链轮最好相同。链条的链轮中心距,则根据自动线布局的需要而定。
(2)、棘爪数和锥齿轮传动比 横向链较短,一般布置1个棘爪,纵向链根据其长短一般可以等距布置1~4个棘爪。纵向棘爪取得较多时,可以较快地给装料工位供应随行夹具,但会在纵向链上积压随行夹具。
为了使返回输送带在任意循环的原位时,各棘爪均能保持恒定的相对位置,要求横向棘爪A,C的运行圈数为纵向棘爪B运行圈数的K倍或K的整数倍(K为纵棘爪数)。例如,横向棘爪A,C均为1个,纵向棘爪B也只有1个时,则B爪每在纵向链上运行1圈,A,C爪应在自己的横向链上运行l圈,2圈,3圈或4圈等。又如,横向棘爪A,C均为1个,而纵向棘爪B为2个时,则B爪每运行1圈,A,C爪应运行2圈或4圈等。但是应当注意,横向棘爪与纵向棘爪的运行圈数比值,不要取得太大了,以免出现锥齿轮副的传动比不合理,齿数太悬殊,以及棘爪位置不易调整等问题。
横向棘爪与纵向棘爪运转圈数之比值确定后,就可以计算锥齿轮的传动比或齿数。现设纵向棘爪B每运转1圈,横向棘爪A(或C)应运转Q圈,则(参考图2-36):

式中 I ——锥齿轮传动比;
Za ——横向链锥齿轮的齿数;
Zb ——纵向链锥齿轮的齿数;
Na ——横向棘爪A或C运转l圈时,横向链链轮所转过的转数;
Nb ——纵向棘爪B运转1圈时,纵向链链轮所转过的转数。
因
![]()
所以 
为了便于调整各链棘爪的相对位置,可以在锥齿轮的联接环节处设置弹性销。这样,进行调整时,可以较方便地脱开锥齿轮。
2.2 自动线上的夹具
自动线上所采用的夹具,可归纳为两种类型,即固定式夹具与随行夹具。这些夹具在定位原理与主要设计原则上与一般机床夹具是类似的,但由于自动线工作要求的不同,其所用的夹具还是有些特点,下面通过典型例子加以介绍。
2.2.1固定式夹具
所谓固定式夹具,即夹具附属于每一加工工位,不随工件的输送而移动,或安装于机床的某一部件上,或安装于专用的夹具底座上。这类夹具亦分为两种类型,一种是用于钻、镗、铣、攻丝等加工的夹具,工件安装到夹具中以后在加工过程中固定不动;另一种是工件和夹具在加工时尚须作旋转运动。前者多用于箱体、壳体、盖、板等类型的零件加工或组合机床自动线中,后者多用于旋转体零件的车、磨、齿形加工等自动线中。
1、钻、镗、铣和攻丝加工用夹具
图2-38是135柴油机缸盖自动线中固定式夹具的例子。该夹具用于从气缸盖两端面进行扩孔和铰孔,每个夹具内安装两个工件。气缸盖由步伐式输送带3送进夹具以后,用侧导向板9导向,支承在定位板4上。每一工件用两个定位销6定位(一个圆柱销,一个菱形销),四个定位销通过油缸10,推杆11、杠杆12、18、连杆19、杠杆20使轴I和轴II产生联动,同时拨动定位销自上而下插入工件的定位孔内。通过两个油缸7和压紧块8,将两个工件压紧在定位板4上。定位和夹紧油缸都安装在钻模板2的盖板5上。
在定位销的控制轴II上,安装着挡块盘13,在定位销进入孔中定位和全部拔出的位置时,两个挡块分别压合行程开关,发出连锁控制信号。这一套定位销的传动和控制机构在组合机床夹具中已经典型化和标准化。为了定时润滑夹具中各运动部分,设有润滑泵15,润滑油经过配油器14通过b、c分往各处润滑。有些自动线中每台机床具有自动润滑系统,则夹具上可以不设单独的润滑泵。这一类夹具在结构上与一般组合机床夹具大部分是共同的,其定位、夹紧、导向等元件可按标准结构选用,但应注意下列特点:
(1)当步伐式输送带需从夹具中通过时,必须在结构上留出相应的位置,并在夹具体上设置输送带的支承滚轮,如图2-38中的17为滚轮支架,16系支承滚轮,当夹具沿自动线纵向的尺寸较长时,夹具体l的两头都安装支承滚轮以增加输送带的支承刚性。
为了保证工件输送的可靠性,夹具上的水平定位支承板(如图2-38中的4),通常做成连续的,侧导向板也应做成连续的,当必须间断时,其间断距离也不能大。
(2)定位、夹紧机构应全部自动化,并应保证工作的可靠性。例如当夹具定位机构设在工件下方时,有时由于工件输送的不准确,会造成定位销不能顺利地插入,以致将工件抬起。这时也会发出定位插销的信号,而工件实际上没有定位。因此对于这类固定式夹具,常在工件的上方设置挡铁之类的机构(约离开工件顶面2~3毫米),以防止工件抬起误发信号。定位、夹紧动作与自动线其它动作的连锁是很重要的,只有在确认定位、夹紧的情况下才能启动机床加工;只有确认松开拔销后才能输送工件等。
图2-38 固定式夹具 |
(3)夹具的结构应保证定位元件不受残留切屑的影响,夹具体要便于排屑。对于切屑量较大的工序尤属重要。如图2-38的夹具体1在定位板4的附近做成空的,以便切屑下落到切屑输送带上。
|
(4)前已述及,步伐式输送带将工件运送到终点时,应使定位孔滞后于定位销0.3~0.5毫米,以便定位销插入孔中时将工件向前拉到准确位置。为此,在布置夹具上的两个定位销时,最好将圆柱销安排在工件前进的前方。
2、车、磨和齿形加工用夹具
|
在旋转体零件的车、磨和齿形加工等的自动线中,常采用顶尖、弹性夹头、心轴、自动卡盘和无心式夹具等来装夹工件。如果所加工的是形状特殊、要求定向装卸的工件,则还须采用主轴定向停车机构。
(1)、顶尖
图2-39为梅花顶尖结构图。顶尖前端装有梅花齿爪盘1,后端配置有弹簧2,使顶尖能轴向退让。装夹轴类工件时, 利用尾座活顶尖通过液压(或气动)传动产生轴向力,使梅花齿爪压紧工件,以传递扭矩。因为梅花齿爪是刚性的,不能调 节,故适用于顶紧支撑端面较为平整的工件。当工件的支撑 端面不够平整时,可以采用图2-40所示的拨爪顶尖。它的拨爪是浮动的,因为拨爪顶尖内腔填满了细钢球(或黄油之类), 利用细钢球(或黄油等)传动,可以自动调节拨爪的伸出量。
(2)、液压自动卡盘
图2-41为某花键轴车削自动线上采用的液压自动卡盘。它由盘体1、球形传动机构2、杠杆3、卡爪4(图a)及主轴顶尖(图b)等所组成。卡盘的驱动油缸(图中未示出),固定在主轴的尾端,是组合式的,其中包括有两个不同直径和行程的油缸。小油缸的活塞杆通过拉杆5与主轴顶尖相连(见图b)。利用拉杆5带动主轴顶尖作伸缩运动,与尾座动力顶尖的进退动作相互配合,将工件顶出或引入卡盘里进行定位。工件的定位以顶尖及顶尖座端面为基准。为了保证工件端面靠着顶尖座端面,并缓冲轴向顶压时的冲击,故在主轴顶尖后端配置有弹簧。大油缸的活塞杆通过拉管6(图b)及球形传动机构和杠杆将动力传给卡爪,以夹紧或松开工件。球形传动机构是浮动的,卡爪的移动位置可以根据工件夹压表面的不圆度自动调节,所以这种自动卡盘可以用于装夹锻件毛坯。
|
2.2.2随行夹具
随行夹具适用于结构形状比较复杂的工件,这类工件缺少可靠的输送基面,在组合机床自动线上较难用步伐式输送带直接输送。此外,对于有色金属工件,如果在自动线中直接输送时其基面容易磨损,因而也须采用随行夹具。
图2-42所示为加工转向器壳体自动线上的随行夹具。其结构特点及工作原理如下:
在上料工位时,由上料机械手将工件送到随行夹具的一对定位滚子2上,机动扳手旋动螺母5,使螺杆齿条6左移,通过齿轮7,带动V形压板8下降,压在工件摇臂轴孔外圆弧面上,从而使工件实现自动对中。与此同时,机动板手将四个螺母3旋转,使螺杆4带动钩形压板9左移,由于压板的套筒开有螺旋槽,所以在压板移动过程中,能同时完成转动动作,使压板压在工件的指定部位。
随行夹具的底面上,镶有淬硬的钢板1,其上开有一个纵向槽,槽的右部用作输送基面,左部为定位基面。相应地,机床上固定夹具的定位块,和机床之间的供滑移随行夹具用的支承板,也错开布置。这样将输送基面和定位基面分开的目的是为了长期保持定位精度。
随行夹具的底面上,有两对定位销孔Φ20D,加工工件上的轴承孔时用其中一对定位销孔;转位90°后,加工摇臂轴孔时用另一对定位销孔。在底面上还有一对孔Φ18D,是供随行夹具在自动线上抬起转位时定位用的。
图2-42为随行夹具用于缺乏可靠输送基面的工件之实例。
有些工件虽有基面,但平面较小,作为输送基面不够稳定,对于这种情况,有时可用“一面两孔”在随行夹具上定位,但不夹紧,待到达加工工位后,工件连同随行夹具一齐压紧。图2-43所示为某活塞加工自动线中的随行夹具,在随行夹具板1上有两个定位销2,活塞(工件)以其裙部端面和内壁上两个半圆孔安装在随行夹具板1上。随行夹具由输送带驱动,可在T形输送道轨上滑移。在加工工位上,由定位销插入定位套3使随行夹具定心,然后机床上的固定夹具从活塞顶部将工件和随行夹具一并压紧。盖子4用以保护定位套3,以免切屑落于其中。
采用随行夹具还有利于对自动线组织成组加工,以提高自动线的负荷率。
|
|
将工艺过程相同或相似而结构和尺寸上类似但有所差异的工件作为一组,在同一条自动线上加工,利用随行夹具可以使夹具和输送设备统一化,使自动线的调整工作大为简化,甚至不需要作任何特殊的调整。国内外在组合机床自动线上加工汽车万向节叉子耳就是一个突出的例子。如图2-44所示,图a中为两种叉子耳零件,图b为在随行夹具上安装的示意图,为了能在自动线上加工这两种叉子耳的端面A和孔B,短叉子耳用外圆在随行夹具中定位,长叉子耳倒过来安装,用孔在随行夹具中定位,保证两个随行夹具的定位底面到叉子耳孔B中心的距离H一致。用同样原理可以使更多种类的叉子耳,组织在同一自动线上自动进行加工。
|
以上通过三个实例介绍了随行夹具的应用及一般结构特点,下面提出设计随行夹具时应注意的一些问题。
(1)、由于采用随行夹具使工件的定位尺寸链环节增加,从而使定位误差增加,为了保证加工精度,应对随行夹具提出较高的精度要求。对于加工精度要求很高的工件,又必须采用随行夹具时,应当认真分析能否保证加工精度,必要时应提高工件定位基面和随行夹具的精度要求。
(2)、由于随行夹具常年累月在自动线中循环使用,而且在许多情况下随行夹具的输送基面就是定位基面,因此必须注意尽可能减小其磨损。一般可以采用下列一些办法:在随行夹具的底面上镶装淬硬钢或耐磨金属以作输送基面;采用滚道输送,或在随行夹具的底面上安装滚子;将随行夹具上的输送基面与定位基面分开,避免定位基面磨损。
(3)、工件在随行夹具上的夹压方式,目前大多采用螺纹自锁夹紧机构。因为这类夹压机构简单,在输送过程中不易松压,并可以采用机械、气动或液压扳手实行目动化操作。在少数情况下,也有采用液压夹紧的。这时,应注意密封的可靠性,以防在工作过程中因泄漏而产生松压的现象。
当工件的尺寸小,重量轻时,在随行夹具上有时也可以只定位不夹紧,待到加工工位后工件连同随行夹具-起夹紧在机床的固定夹具上。
(4)、随行夹具在固定夹具上的夹压,多采用钩形压板的方式,在加工工位上,是由四个钩形压板将随行夹具的底板压紧在固定夹具上的。这种方式,敞开性好,便于调整及观察工作,而且钩形压板还有防止随行夹具在插销定位时可能被顶起的作用。但由于夹紧机构设在夹具的底座内,故设计时要充分注意维修的方便。
当工件和随行夹具窄而高时,为了保证夹压系统的刚度,一般采用从上方将随行夹具压紧的方式。
2.2.3定位夹紧装置的传动方式
定位夹紧装置的传动方式有机械、液压和气动三种类型。
1、机械传动方式
机械传动的定位夹紧装置,多半利用自动机床上的分配轴通过凸轮、杠杆或齿轮、齿条等机构进行传动。这类传动方式,多应用于通用机床和专用(非组合)机床组成的自动线上,或机械集中传动的小型组合机床自动线上。
1-主分配轴 2-摆轴 3、4、5、6-圆锥齿轮 7-楔块 8-碟形弹簧 9-挡块 10-拨叉 11-凸轮 12-拉杆 13-杠杆 14-蜗轮 15-蜗杆 16-凸轮 17-保护开关 18-摆杆 19-离合器 20-保护开关 21-挡铁盘 |
图2-45为某小型自动线用于实现定位、夹紧、拔销、松开和动力滑台工作循环的集中传动装置示意图。主分配轴1由一个具有双向超越离合器的减速器(图中未示出)通过蜗杆蜗轮15、14传动,它可以n=0.435转/分和n=2转/分的转速作同向正转,也可以2转/分的转速反转。
当以2转/分的转速正转时,经凸轮11、摆杆18、离合器19带动摆轴2旋转一个角度,固定在摆轴上的拨叉10就能迫使机床上的夹具定位销实现定位和拔销。通过凸轮16、杠杆13、拉杆12和固定在拉杆上的挡块9,可使套在拉杆上的楔块7移动,以实现夹具的夹紧。碟形弹簧8是用来补偿夹具误差和保持恒定夹紧力的。
自动线上各个动力滑台的前进和后退,是通过主分配轴1上的锥齿轮实现的。当主分配轴转过105°以后,就以0.435转/分的转速慢转,动力滑台就实现工进。定位和夹紧状态可以由凸轮的曲线槽保持到工进完毕。当主分配轴转过250°以后,再以2转/分的转速快转,以实现动力滑台的快退,和夹具的拔销、松开等动作。
主分配轴旋转一周,自动线就完成了一个工作循环。
挡铁盘21用来控制集中传动装置减速器的快速和慢速电动机。这样主分配轴就可以按需要的不同转速旋转。
2、液压和气动传动方式
液压和气动传动方式便于全线或分段集中控制。而液压传动方式比气压传动方式又具有一系列优点,因此,在自动线机床上具有液压系统的情况下,定位夹紧机构一般都采用液压传动方式。目前,绝大多数的组合机床自动线的定位夹紧装置,都是液压传动的。
图2-46表示了一种定位夹紧装置的双泵液压系统。当定位夹紧开始时,高压油泵A和低压油泵B打出的油同时进入系统。等到工件被夹紧后,系统内油压升高,高压泵A的油压控制溢流阀3,使低压泵B卸荷;由高压泵A保持系统内较高的压力(由溢流阀4调定)。
|
定位和夹紧的顺序连锁控制是通过程序阀2来实现的。当定位销插入定位孔,油缸内压力升高到一定程度后,打开程序阀2的通路,使压力油进入夹紧油缸。这种系统中要求程序阀性能良好。其优点是电气控制线路简单。
|
当所控制的定位夹紧油缸多而直径较大时,为了保证工作的可靠性,可以采用二位二通电磁滑阀来代替图2-46中的顺序阀2,或者采用如图2-47所示的液压系统,以两个三位四通电磁滑阀分别控制定位油缸及夹紧油缸。图2-47中用变量叶片油泵供油,比之双泵系统更有利于减少功率损失和降低油温。因为在定位夹紧过程中,要求流量大、压力较低,在定位夹紧以后,要求流量小、压力高,而排油量随压力变化的限压式变量泵,正好可以满足这种要求。
图中压力继电器1YJ和2YJ是用来发出连锁信号的。当定位销完全引进定位孔后,与定位销传动轴同步回转的挡块便压合行程开关,此时1YJ也动作,从而发出两个信号接通3DT进行夹紧1当工件被夹紧后,2YJ发出启动动力滑台的信号。
气动夹具在一般大批大量生产中已经得到广泛应用。因此,在合适的情况下可以应用于自动线中。为保证自动线工作的稳定性,应对气压系统提出较高的要求,例如应保持系统恒定的气压;应使系统中所含水份尽可能少,以免元件锈蚀失灵;设有必要的装置以防气源突然中断而引起事故等。
2.3 转位装置
工件在加工过程中,有时需要翻转或转位以改换加工面。在通用机床或专用机床自动线 中加工中小型工件时,其翻身或转位常常在输送过程或自动上料过程中完成。在组合机床自动 线中,则需设置专用的转位装置,这种装置可用于工件的转位,也可以用于随行夹具的转位。
当工件需从一种位置状态改变为另一种位置状态时,有时绕水平轴回转,有时绕垂直轴 回转,有时则须作复合回转运动。
2.3.1绕垂直轴回转的转位装置
1.油缸2.转台3-轴承4一齿轮轴5一操纵杆6一挡铁7一行程开关 |
图2-48所示为一种绕垂直轴回转的标准转位台。转台2与齿轮轴4固定联接,双活塞油缸1中的活塞杆齿条和齿轮轴4啮合,当活塞杆齿条移动时,就使转台2转位。更换不同长度 的活塞杆可使转位台回转90°或180°。回转终点的准确位置靠油缸两端的螺钉调整。油缸 活塞的运动速度推荐为1~2米/分。两端油缸盖上设有液压缓冲器,使转位台回转到终点 时避免冲击。当齿轮轴4转动时,驱使操纵杆5移动。并带着挡铁6压合行程开关7,发出与 输送带连锁的动作信号。
转位台也可采用叶片式摆动油缸来传动,这种方案在机械结构上要简单一些。
整个转位装置,除上述机构以外,还必须根据工件的形状、输送步距大小、转台中心与前后工件的相对位置,设置一个支承工件的座盘,把它固定在转台2上。
当转位台的回转中心设在输送带的中心线上时,工件的转位,只能在输送带退回原位让棘爪脱开工件以后,才能进行。如果要求在输送带不退回的情况下进行转位,则必须如图2-49所示,将转位台的回转中心偏移,并令a=b,以便保证转位台前后的输送带中心线重合。此时须将转台上的座盘设计成平台并增设环形支承。
|
采用了上述转位装置后,步伐式输送带必须断开,自动线也被分成两段。这两段自动线各有自己的控制系统,但彼此又相互连锁,以保证工件连续运行。
在UX131转向器壳自动线中采用了另一种型式的转位装置(图2-50)。转位前,转台带着随行夹具和工件向上抬起,离开输送带后再行转位,转位完成后回转台重又下降。采用这种转位装置,输送带可以贯穿全线而不需分段,因而减少了输送带的传动装置,使液压、电气控制都得以简化。
图2-50a是这种装置的外形图,表示了转台,随行夹具、输送导轨和输送带的相对位置。
如图2-50b所示,转台1上有四个支承销3和两个定位销2作随行夹具转位时定位之用。转台1装在转轴4上,转轴4的外面有一个齿轮套5,其中部的齿轮与油缸6所驱动的齿条11啮合,在它的下部为一单齿拨爪14,此拨爪与固接于转轴4上的凸块7相邻。
齿条杆11在互相垂直的方向上开有两个齿条,其中一个与齿轮套5的齿啮合,另一个齿条则与小齿轮13啮合。在小齿轮13的同一轴上装着凸轮9,当小齿轮13带动凸轮9回转时,压在滚子10上使杠杆8逆时针方向摆动,杠杆8的另一臂端部的叉子便将轴4连同转台1向上抬起。
在正对凸块7上下两个极限位置的地方,互成90°地布置着两个带斜面的弹簧销16和17(见图2-50b中D-D)。
转位过程如下:当随行夹具带着工件运动到转位装置上以后,随行夹具上的定位套孔正对着转台1上的销2。在油缸6的活塞处于最右边原始位置时,凸轮9与滚子10,以及齿轮套上的拨爪14与凸块7的相对位置如图2-50c)中①所示。活塞推动齿条杆11向左移动时,带动齿轮套5和凸轮9同步转动。当凸轮回转90°后,如图2-50c位置②所示,凸轮即将开始压住滚子10使转台向上抬起,而此时拨爪14并未与凸块7的边缘相遇,因而转台不会转动。齿条11继续向左移动,使凸轮又转过90°之后,如图2-50c中位置③所示,滚子已位于凸轮最大回转半径 处,即转台1已完全抬起(如图2-50a中点划线所示),并且两个定位销2完全插入随行夹具的定位孔中,此时拨爪14开始接触凸块7的边缘。当齿条继续左移,使凸轮再回转90°时,转台仍在抬起位置,而拨爪14带动凸块7,通过键联接使转轴4带着转台1回转90°。
|
转台1回转到终点位置时,凸块7上的定位键15被弹簧销16锁住,使转台定位。转位完成后,油缸6的活塞反向右移,凸轮9和拨爪14顺时针方向回转,按照图2-50c的逆过程从④~①进行。在位置②上,转轴4与转台1下降到最下位置,一方面随行夹具下降后支承在输送导轨上,定位销2从定位套孔中退出;另一方面凸块7上的定位键15也下降而脱开定位销16的限制,因此从位置②到①时转台1能够反转90°复位,同时定位键15被下面的弹簧定位销17锁住而定位。
在小齿轮13的轴端装有挡块盘12,用以发出转位和复位终点的连锁信号。
2.3.2绕水平轴回转的转位装置
图2-51是绕水平轴回转的转位鼓轮。鼓轮1由双活塞油缸的活塞杆齿条5,通过小齿轮4,大齿轮3与固定在鼓轮上的齿圈2传动。更换不同的活塞杆可以使鼓轮回转90°成180°。
1. 鼓轮,2. 齿圈, 3. 大齿轮, 4.小齿轮, 5. 活塞杆齿条, 6. 滚子, 7. 偏心轴, 8. 滚子 |
鼓轮1的下方用两个滚子6和两个滚子8支承。这四个滚子分别安装在两根偏心轴7上。装配时旋转偏心轴可以调整齿圈2与大齿轮3的啮合间隙。调好后,轴7用销固定在支架上。滚子6上有凸缘,嵌在鼓轮前端的环槽里限制其轴向移动。
根据工件的形状和工件在鼓轮中预定的位置,在鼓轮两端设置支承架,在支承架上装设工件的支承板和限位板,用以限制工件在回转时的自由度。确定支承架在鼓轮上的位置时,应注意使工件在转位前后的装料高度不变。
采用这种转位鼓轮来翻转工件时,输送带必需断开。为了使输送带贯穿全线而不必断开,可以采用如图2-52所示的翻转机构。在翻转机构的底座上,固定着两个支承座2和6。支座2上有油缸1,它的活塞杆与拉杆3相连,拉杆3的另一头支承在支座6的导套中。拉杆3上装着两个拨块4和5,其形状和相对位置根据工件的形状而定。当气缸盖(工件)用步伐输送带送到翻转机构上时,正处于两个拨块4和5的中间。
工件翻转时,油缸1的活塞推动拉杆3向左移动,拨块4接触工件上端,并把它向左推动,但此时,工件的左下方被棘爪7所阻,因而工件将绕K点向左倾倒。此时拨块5从左边扶住工件,使之不至于立即倒下,以免产生过大的冲击。等到拉杆3继续左移,使工件倾斜到一定程度,即其重心位于K点左边,且工件左上端0点处于拨块5的N点以下时方才卧倒。此后活塞带动拉杆3反向右移,拨块5将横卧的工件拖回原位,此时工件将棘爪7压下,从它上面滑过。
|
这种机构的结构比较简单,但只适用于工件绕水平轴翻转90°的情况,此外,工件在倾倒时会产生一定的冲击。
2.3.3复合转位装置
图2-53是135柴油机缸盖自动线中的复合转位装置。工件的转位要求如图a,在自动线的第一段中,加工缸盖的顶面、底面A和定位销孔,工件在输送和加工时的位置状态如Ⅰ。自动线第二段须从工件的两端面B进行加工,输送和加工时要求处于III的状态,因此要求两段之间的转位鼓轮能同时实现绕水平轴和绕垂直轴的回转运动。
如图2-53b所示,转位鼓轮的基本结构形式和图2-51是相同的。双活塞油缸3通过活塞杆齿条4、小齿轮5、大齿轮6和弧形齿圈2使鼓轮1绕水平轴回转90°。回转框架7用滚珠轴承安装在鼓轮1的内圈里,框架7下部的支承轴8具有扁尾,能与齿轮轴9上端的扁槽相嵌合,轴9的支承套11的左边开有缺口槽,其宽度比轴8扁尾的厚度稍大。轴9上的齿轮一面与双活塞油缸10的齿条啮合,另一面与挡铁杆13上的齿条相啮合。
图2-53复合转位装置 图2-54复合转位过程示意图 |
转位过程如图2-54所示,当鼓轮1和框架7都处于原始位置时(图2-54a),工件由自动线第一段的输送带送入框架中。此时,支承轴8处于水平位置,轴9上端的扁槽与套11左边的缺口槽正好对准。当大齿轮6带动鼓轮1逆时针方向回转90°后(图2-54b),工件转为图2-53a所示位置Ⅱ的状态,这时轴8的扁尾正好从套11的缺口槽通过而嵌入轴9的槽中。然后油缸10再驱动齿轮轴9绕垂直轴回转,轴9通过扁槽带动轴8的扁尾,使框架7回转90°,工件便处于图2-53a所示位置III的状态(图2-54c)。反向复位时首先油缸10使轴8与框架7回转,然后油缸3使鼓轮1回转。
2.4 贮料装置
为了使自动线能在各工序的节拍不平衡的情况下连续工作一段较长的时间,或者在某台机床更换、调整刀具或发生故障而停歇时,保证其他机床仍能正常工作,必须在自动线中设置必要的贮料装置,以保持工序间(或工段间)具有一定的工件贮备量。
贮料装置通常可以布置在自动线的各个分段之间,也有布置在每台机床之间的。对于加工某些小型工件或加工周期较长的工件的自动线,工序间的贮备量也常建立在联接工序的输送设备上(例如输料槽,提升机构及输送带上)。
根据被加工工件的形状大小.输送方式及要求的贮备量的大小不同,贮料装置的结构形式是多种多样的。但不论何种型式的贮料装置,都有下列共同要求:
(1)、结构紧凑,在保证所要求的贮存量的条件下,使体积最小、占地面积最少。
(2)、结构简单可靠,如果贮料装置本身易出故障,就起不了应起的作用。
1、通用和专用机床自动线的贮料装置
图2-55 Z形贮料器 图2-56 圆盘式贮料器 |
由通用机床和专用机床组成的自动线中,贮料装置常用于贮存圆柱形、环形、盘形和轴类等旋转体工件。图2-55a是一种最简单的Z形贮料器,它的进口和出口与输料槽相联接。贮存量要求较大时,可以做成图b形式,它可以按两种不同的方式工作。一种是“通过式”的,即从一台机床送来的每一个工件都要从贮料器中通过,再输送到下一台机床。另一种是“仓贮式”的,即在贮料器的进出口都有活门控制,输料槽分两条通路,一条通向贮料器进口,一条直接通向下一台机床,在正常情况下,工件从上一台机床直接送向下一台机床。当某一台机床发生故障停歇时,贮料器的进口或出口活门打开以接受或送出工件。
|
图2-56系圆盘式贮料器,广泛应用于加工滚动轴承环的自动线中。贮料器具有多层圆盘1,圆盘上具有平面螺旋滚道,工件可在其中滚动。垂直轴2上装有十字形支架4,在支架上装有毛刷或橡皮,当轴2被电动机3(通过减速器5以及联轴节6)带着转动时,毛刷或橡皮借摩擦力驱动工件沿螺旋滚道从圆盘外周滚到内周,然后从缺口落下,经料槽8进入下一层圆盘的外周滚道内。经过最下一层圆盘从出口流出的工件从输料槽7送到下一工序。这种贮料器的优点是贮存量较大,工件属强迫运送,但在发生堵塞现象时又不会损伤任何机构。
在某轴承自动化车间中,采用了另一种多行料槽式贮料器,在相同的贮存量下其体积更小。如图2-57所示;在贮料柜里有十二行平行的料槽8,顶部用支架2支承着输料糟3。输料槽3的底部开有十二个可容工件落下的口,每一开口用料槽7与柜中相应的料槽8相联接。在开口的上部有活动隔板6,此隔板在弹簧12的作用下将十二个开口遮住,隔板中部与电磁铁4控制的杠杆5相连。当工件(轴承环)逐个从输料糟进入料槽3后,在隔板6的上面顺次累积起来,一直等到第十二个工件送到,使行程开关14动作,接通电磁铁4,拉动杠杆5时隔板6向外抽出,十二个工件便分别同时落人相应的料槽8中,为了减小工件下落时的冲击,将料槽8做成折线形。
在贮料柜的下部有十二个拨料鼓轮9,它们装在同一根轴15上。各鼓轮的拨料口彼此错开,按十二等分均布在轴15的圆周上。当电动机11通过减速器10和皮带传动使拨料鼓轮旋转一周时,就顺序将十二个工件送出贮料柜外。
2、组合机床自动线的贮料装置
对于一般用步伐式输送带联接起来的组合机床自动线,由于它是刚性联接的,因而一般不设贮料装置。只有在必要时,为了减少停歇时间对生产率的影响,提高自动线的利用率,才考虑设置贮料装置。由于步伐式输送带的结构所决定,贮料装置设在两个分段之间,而不设在每台机床之间。
组合机床自动线所采用的贮料装置多数是仓贮式的。因为仓贮式贮料装置的贮存量较大而占地面积较小,同时,在自动线正常工作时它是不工作的,只有当自动线的某一段停歇时才工作。因而,其本身产生故障的可能性与通过式贮料装置相比要相对少一些。用于组合机床自动线的贮料装置有两种基本型式:
图2-58立式贮料库 图2-59链式水平贮料库 |
(1)、贮料库
|
当自动线直线排列时安排在两段的中间,当自动线折线排列时可以安排在两段的转角处。图2-58是一种立式贮料库的工作原理图。在自动线的两段之间有一个立式贮料库11,下面有一个由双活塞三位油缸3所驱动的托架2。在自动线正常工作时,托架2处于图示位置。工件1由前一段的输送带A送到托架2,由后一段的输送带B运走。当后一段自动线出现故障停歇时,工件1送到托架2上以后,压力油同时通入油腔4和5,而油腔9与油箱相通。因而浮动活塞6下降,而活塞7上升,直到顶在活塞6的端面为止。此时,托架2将工件1上抬一定高度,使贮料库11中的工件略略抬起以便拔出隔料器8。隔料器8在油缸10的作用下从工件中拔出后,.油腔4与油箱相通,于是活塞7驱使托架2一直向上,把工件1送入贮料库中,并插入隔料器8,然后油腔9通入压力油,使托架2下降到原位。当前一段自动线停歇时,托架2从贮料库11中取出工件,按上述的逆过程进行。
图2-59为链式水平贮料库,它放置在与两段自动线相垂直的方向上。链条4由电动机5通过减速器6作间歇传动。从动链轮具有张紧机构2。链条用平板8支承以免下垂。在链条4上装有容纳工件的框架3。在后一段自动线发生故障时,链条依次向左移动一个步距,使右边一个空框架3对着工位7,以便容纳由上一段自动线的输送带1送来的工件。当前一段自动线发生故障时,链条向右逐步移动一个步距,把带有工件的框架3送到工位,以便运向后一段自动线中。当要求较大的贮存量时,贮料库可以做成多层的,以节省生产面积。
(2)、辅助输送带
这种贮料库常常以步伐式输送带的形式安排在工件主输送带的旁边或垂直方向。如图2-60a所示,在第一段到第二段的主输送带旁边设置辅助输送带。在正常工作时,辅助输送带不工作。当某一段停歇时,就按虚线箭头方向将工件贮入辅助输送带,或从中取出工件。这种辅助输送带要求能在两个方向输送工件,所以按图2-60b所示做成圆杆形,其拨爪可以两面工作,当向左输送工件时拨爪的a端朝上,如果要反向向右输送工件时,用油缸齿条机构使之回转180°,拔爪改为b端向上。
3、贮存量的确定
在设计贮料器时,如何确定贮存量是一个重要问题。贮料器的贮存量如果太小,当自动线的某一段因故停歇时,另一段连续工作的时间短,收不到应有的效果;但若贮存量过大,将使贮料器的结构庞大,增加建线投资和占地面积,同时也会使贮料器的工作可靠性变差。所以贮存量应根据具体情况恰当地确定。
贮料器的贮存量,可参考下式确定:
C=KQ ts
式中 C——贮料器的贮存量;
Q——贮料器前一工序或前一段的生产率;
ts——前后工序(段)一次停歇的最长时间,或要求贮料器能够连续供料的时间。
K——系数。
决定贮存量的大小与一系列因素有关,如:被加工工件的结构形状和尺寸大小,自动线生产节拍的长短,自动线(或工段)中机床数量及其复杂程度等等。
当工件的形状简单,尺寸较小而且生产节拍较短时,式中的ts可取为要求贮料器连续供料的时间。例如,设计时要求在自动线某一段停歇时,贮料器能保证供料2小时或半个工作班(即ts=120分钟或240分钟)。这样虽然贮存件数较多,但由于工件小,节拍短,只要贮料器的结构选择得合理,既能发挥较好的补偿作用,又可使结构比较紧凑。
当工件的尺寸较大,生产节拍较长时,式中的ts最好由自动线一次停歇最长的时间来决定,使贮料器既有足够的贮存量来补偿自动线因故停歇的时间损失,又不致因贮存量过多而使结构庞大。确定自动线一次停歇的最长时间是比较复杂的问题,因为它与许多因素(包括偶然因素)有关。须从自动线的实际运转过程中积累资料。例如某油泵齿轮自动线曾在多次连续工作中测定出发生故障的平均时间间隔约为1~2小时,每次排除故障所需要的平均时间不超过10分钟,因而该自动线中采用了简单的Z形贮料器和具备一定贮存量的输料槽,以满足要求。一般在设计时可以参照同类型自动线的经验数据确定,并适当考虑系数K,K约取为1.2~2。
2.5 自动线的上下料装置
对于节拍很短的或加工笨重零件的自动线,为了减轻工人的劳动强度,应该设置自动化的或半自动化的上下料装置。
|
加工小零件的自动线,多采用料斗或料仓上料,其结构原理与第二章所介绍的类似,这里不再赘述。加工较大零件的自动线,多半采用半自动的贮料库或料仓以及送料机构上料,即定期地用人工将一批工件按特定的方向和位置排列在贮料库或料仓中,然后由送料机构自动地送到自动线的第一个工位上去。
|
图2-61所示为加工柴油机气缸盖自动线的上料装置的结构原理图。它由推料机构1、料仓6及提升机构等所组成。电动机9经蜗轮蜗杆减速器7,带动螺母,驱动丝杠8及固装在其上的料台10升降。每次上料时,将七个气缸盖(工件)用专用的小车装入料仓6中。当最上方的工件3顶着信号杠杆2时,上料装置停止工作。输送带4将自动线第一工位5的工件拉走后,发出信号,使推料油缸1动作,将工件3推到第一工位5上。推料油缸1的活塞杆退回后,发出信号,使电动机9起动,带动料台10及工件上升,但当下一个工件上升顶住信号杠杆2而压合限位开关时,电动机9及料台10便又停止工作。这样,自动线每循环一次,料台就上升一次,直至料完后,料台触及限位开关,电动机反转,料台才下降。料台降至终点后,发出料仓需要重新上料的铃声信号。
加工轴类零件的自动线,如果采用架空式机械手的输送方法,可以利用机械手及链式上料装置进行上料。
图2-62为一种步进式的链式上料装置。利用人工将一批工件安放在上料装置上。自动线每工作循环一次,上料机械手从上料装置位置1处抓取一个工件送到自动线的第一工位II上。当位置I没有工件时,上料装置中的送料油缸动作,通过活塞杆齿条带动齿轮,经棘爪棘轮机构,传动链轮轴,进行送料。当活塞杆齿条退回时,齿轮空转,而链轮轴不动。如果上料装置位置I之前几个位置都没有工件时,油缸可以连续动作,使链条连续步进,直至将工件送到位置I触及限位开关,发出信号,说明位置I有工件了,才停止送料。
1一机械手2一曲轴(工件)3-贮料架4-隔离块5-油缸6一油缸 |
有些工件在自动线上加工完毕后,不便于自行滑离自动线,而需要用人工从自动线上卸下。在这种情况下,为了减轻工人的劳动强度,往往需要设置下料装置。图2-63为曲轴自动线的下料装置。它由卸料机械手1及贮料架3等所组成。机械手按照自动线的节拍,定时地从自动线最后一个工位抓起工件2,送到自动线旁边的贮料架3上,工件松脱后,即利用自重沿着贮料架的斜度自行滚下,并利用可以摆动的隔离块4,排列在贮料架上。这样,工人就可以不受自动线节拍的限制,而较为从容地把工件吊搬下来。在自动线首端和末端用机械手进行上下料。
2.6 自动线的断屑与排屑
2.6.1断屑
断屑与排屑是自动线生产中的关键问题之-,特别是加工钢件等塑性材料工件所产生的锋利带状切屑,如不及时折断,就会缠绕在刀具、机床部件及回转的工件上。这不但会在那里积聚大量的热量,产生热变形,影响加工质量,降低刀具耐用度,而且会严重妨碍自动线正常运转,甚至会危害操作人员与设备的安全。
断屑一般要求折断成一段段的较短的螺旋状切屑,而不希望折断成碎屑。因为碎屑不便于清理,且到处飞溅,很不安全。
目前较常用的断屑方法有:采用特殊的刀具几何角度;在刀具上增添断屑器;在刀具的切削部分做出断屑槽;变化切削截面积,使切屑折断等。但从发展的趋势来看,其中以最后两项最有发展前途,下面着重介绍这两种断屑方法。
1、变化切削截面积的断屑方法
使切削截面积发生周期性变化的办法,有振动切削法、间歇进给法以及采用特殊的毛坯形状等几种。
(1)、振动切削法
当用普通方法车削外圆时,刀尖相对于工件的运动轨迹为一条螺旋线。若在切削过程中,给刀具附加一个低频率的振动(振幅为2A,如图2-64a),使实际工作的进给量产生周期性变化,则刀尖相对于工件的运动轨迹就变为一条波纹状的螺旋线了。将工件圆周πD展开时,此曲线如图2-64b所示。如果在切削过程中,进一步想办法,使相邻两转的刀尖运动轨迹错开一个相位,如图2-65c所示,则其切削厚度及切削截面积将产生周期性的腰形变化,窄的地方应力较集中,切屑就会折断。振动切削就是根据这个原理,在机床中增添一个振动装置,而实现断屑的。
振动切削的断屑效果,与振动方向、振动频率、振幅及振动力等有密切的关系。
试验表明,刀具的振动方向取与进给方向平行最为合理,这样既可保证断屑,又能满足加工精度和粗糙度的要求。当刀具的振动方向与进给方向相垂直时,加工粗糙度很差,而且刀刃很快就会崩坏。振幅2A的大小取决于每转进给量s,与工件的转速无关。一般取2A=(0.7~1.2)s较为合适。频率f的大小主要由工件的转速决定,与进给量s无关。一般可取f=3~40赫,当切削速度v较大时,f取大值,v较小时,f取小值。但必须注意,f不可等于工件每秒钟转数n或n的整倍数。此外,振动力还必须足够大,以保证刀具能产生振动切削的作用。这样才能得到稳定的断屑效果。
为了说明振动频率f为什么不能等于工件每秒钟转数n或n的整倍数,在图2-65中作出了采用不同频率f振动时,相邻两转的刀尖运动轨迹。因为每转进给量;与工件圆周长πD相比,s很小,螺旋升角θ也很小(参考图2-64b),为了分析方便起见,图2-65忽略了θ的影响,把每一转的螺旋线长度看成与πD大致相等。
|
在图2-65中,图a表示当频率等于工件每秒钟转数n或n的整倍数时,即当f=Kn时的振动情况。因波长、频率与切削速度之间的关系为:
![]()
而 v=nπD f=Kn
故得 πD=Kλ(毫米)
式中 λ——波长(毫米);
f——频率(赫);
v——切削速度(9米/秒);
n——工件转速(转/秒);
D-—工件直径(毫米);
K——正整数。
|
上式说明:当取振动频率等于工件每秒钟转数或它的整倍数时,则工件的圆周长πD恰为波长λ的整倍数。以这种频率进行振动切削时,任意相邻两转的刀尖运动轨迹,其波形相位都是同步的。也就是说,代表相邻两转刀尖轨迹的两条曲线波纹完全平行切削厚度毫无变化。这样就是同步振动,这种情况切屑不会折断。
图b、c、d表示f≠Kn时的异步振动情况。此时πD不等于波长λ的整倍数,故相邻两转刀尖轨迹的波纹相位错开。图b、c、a分别标出了相位错开
、
、
的情况。由图可知,这几种情况都会使切削厚度按正弦曲线的规律变化,因此切屑可以折断,试验也证明了这一点,当频率与工件转速相差10%或更大时,可以得到可靠的断屑,但切屑的形状及尺寸则与振动频率有很大关系,高频率时为碎屑,频率较低时则为单个的螺旋状或环状切屑。
以上介绍的,是振动切削断屑的基本原理。
切削厚度按正弦曲线的规律变化,其变化范围是很宽的。其实,从断屑及加工粗糙度的观点来看,并不要求切削厚度具有这样大的变化范围。
下面介绍某叉子耳自动线上所用的液压振动断屑的具体方法。图2-66a所示为这种断屑方法的液压原理图。它是采用微型电动机,通过小型减速箱(图中未示出),带动断屑凸轮1,使二位二通行程阀2时通时闭,来控制动力滑台的进给速度及切削截面积的变化,而实现断屑的。液压系统的工作过程如下:
动力滑台快退时,电磁铁2DT通电,从油泵排出的压力油,经电液动滑阀4的液动滑阀A(左位)、液控单向阀5而进入油缸的左腔,油缸右腔的油,经液动滑阀A而流回油箱。
动力滑台快进时,电磁铁1DT及3DT通电,压力油经电液动滑阀4的液动滑阀A(右位)进入油缸的右腔;从油缸左腔排出的油,经液控单向阀5及液动滑阀A(右位),也进入油缸的右腔。这是差动联接的快速进给。
|
工作进给时,1DT仍通电,而3DT断电。这时,油泵排出的压力油,经过液动滑阀A(右位)以后,分为二路,一路通调速阀3及行程阀2回油箱;另一路进入油缸的右腔,而油缸左腔的油则经液控单向阀6及调速阀7流回油箱。当行程阀2处于原位(即关闭)时,动力滑台的进给速度全由调速阀7控制。此时的滑台进给速度较快。当断屑凸轮1打开行程阀2时,则压力油,将有一部分经调速阀3及行程阀2流回油箱,而只有一部分压力油进入油缸。这时动力滑台将以较慢的进给速度前进,其进给速度由调速阀3及7共同控制。
由此可知,动力滑台的进给速度及切削截面积,将随着凸轮1的转动而产生周期性的变化,因此可以断屑。
采用这种方法时,凸轮曲线的设计很重要。图2-66中之凸轮由三段圆弧ab、bc、cd及一段快退曲线所组成(图2-66b)。凸轮da段曲线工作时,行程阀2正逐渐关闭;ab段工作时,阀2处于关闭状态;bc段工作时,阀2逐渐打开;cd段工作时,阀2处于打开状态。由于cd很长,几乎占圆周的四分之三,所以凸轮每转过一周,(即每振动一次),滑台都有一段相当长的稳定而慢的进给时间,约占整个振动周期的四分之三。而凸轮的其余三段曲线da、ab和bc共约占圆周的四分之一,说明行程阀2从开始关闭一直到重新打开,所用去的时间很短,也就是说,滑台变化进给的时间很短,约占振动周期的四分之一左右。由此可知,如果令滑台的正常进给量、即行程阀2处于打开状态时的较慢进给量为s毫米/转,而较快的进给量、即行程阀2处于关闭状态时的进给量为s+Δs,即可画出刀尖相对于工件的运动轨迹,为一条近似于锯齿波的曲线。因此,在决定凸轮的转速时,注意使其不等于主轴的转速或主轴转速的整倍数,令相邻两转的刀尖运动轨迹错开一个相位,如图2-67所示,就可使切削厚度发生周期性的变化而断屑。这种锯齿波曲线的刀尖运动轨迹,比起正弦波曲线,更有利于保证加工粗糙度。
|
实践证明:振动切削的断屑方法是可靠的。它的适应范围很广。可以采用不同的切削用量;可以用于车、镗、钻、扩、仿形车削等加工方法;也不受工件材料的限制。它对加工精度及粗糙度影响不大,可以满足半精加工的要求。它对刀具耐用度的影响,反应不一,有的认为影响不大,有的认为振动切削使刀具耐用度降低20%左右。
振动切削断屑法的主要缺点是:需要增添一套振动装置。
(2)、间歇进给法
即在切削过程中,利用进给一停顿一进给的方法,使切屑断开。
当机床采用机械传动时,可在进给系统的适当环节上添设电磁离合器,间歇地接通或中断进给运动。当机床采用液压传动时,可在液压系统的进给油缸与调速阀之间串接一个专用的转阀(液压开关),以便间歇地接通或断开油路。为了保证工作的可靠性,转阀应尽可能离油缸近一些。转阀的开与关,可以利用低速电动机直接驱动或通过减速机构带动。
为了减少停顿的时间损失,设计时只要让停止进给的时间,能保证断屑就可以了。一般应把每次停顿时间控制在相当图2-67液压振动断屑时工件转过一周的时间以内。此外,在满足断屑要求的前提下,相邻两转的刀尖运动轨迹停顿的次数应尽量的少,也就是说,相邻两次停顿之间的间隔应尽可能的大。
这种断屑方法,也适用于不同的切削用量及车、镗、钻、扩等不同的加工方法。但由于间歇进给,不可避免的会在已加工表面上留下刀痕,加工粗糙度等级可能降低一些,生产率也会降低一些。
(3)、改进毛坯形状
改进毛坯形状,使切屑自然断开,也是解决断屑问题的途径之一。例如在某厂的连杆大小头孔加工自动线中,先在孔中拉出一条直槽,来保证螺孔工序的断屑。这样,镗刀每旋转一周到达直槽时,切削截面积突然减至零,因而断屑绝对可靠,加工质量也好。缺点是使自动线增加了一个工位。这种方法适用于各种不同的切削用量,但受工件结构形状及技术要求的限制,使用范围有一定的局限性。
2、使用带断屑槽的刀具断屑
在刀具的切削部分上做出断屑槽,以及在刀具上装设断屑器,这两种断屑方法,很早以前就出现了。由于在焊接的硬质合金车刀上磨出断屑槽,质量不易掌握,往往因有焊接裂纹或刃磨裂纹而崩刃;而在刀具上装设断屑器,则使用上不够方便,所以在很长一段时间里,这两种方法都未得到广泛的应用。近年来,由于国内外在机械夹固不重磨式硬质合金刀片方面的飞速发展,才给断屑槽这种断屑方法增添了新的生命力。
目前我国生产的带断屑槽的不重磨式硬质合金刀片,其几何形状和断屑槽都是直接模压成型,然后烧结而成。刀片成品已经过精加工及刃磨,再经研磨便可装夹在刀杆上使用。只要切削用量选择适当,就能得到满意的断屑效果。在使用过程中,刀片不需进行重磨,当一边刀刃用钝以后,调换另一边刀刃,就可以继续工作。调刀换刀十分方便。
使用不重磨式硬质合金刀片时,正确地选择切削用量很重要。因为当断屑槽一定时,影响断屑效果的因素,主要是进给量s、切削深度t和工件材料,切削速度v也有一定的影响。
|
图2-68所示为具有一级断屑槽的凸三边形刀片。此例仅主刀刃有一段断屑槽;有的则在平行于刀刃的方向上做出一条互相连通的断屑槽;有的仅在刀尖附近做出一个凹坑。使用这类断屑槽时,通过选择一定的断屑槽的形状和尺寸,对于切削用量一定的工序,可以获得稳定的断屑效果。例如,根据一些使用厂的试验结果,用T3K1605A3型或Φ3K1305C型刀片切削45号钢,当切削速度v=70~110米/分,切削深度t=1~3毫米,进给量s=0.16~0.5毫米/转时,断屑效果好,适用于半精车。又如,利用4K1915A4型刀片,以v=70米/分,t=4~6毫米,s=0.4~0.96毫米/转的切削用量加工45号钢件时,可以得到稳定的断屑,粗加工较适合。
图2-69所示,为具有二级断屑槽的三边形刀片。它在刀尖上具有一窄而浅的槽,以适应较小的进给量;沿主刀刃上还有一条较宽的第二级断屑槽,用来保证进给量较大时的断屑。所以,一般地说,二级断屑槽的断屑范围比一级断屑槽要广一些。就上海硬质合金厂目前的产品来看,这类断屑槽用于粗加工及半精加工较好。例如,T3K1910E4型刀片,以v=70~110 米/分加工45号钢,当t>2毫米,s>0.38毫米/转时,断屑效果较好;但当t<2,s<0.38时,就不易断屑了。
图2-70所示为具有三级断屑槽的三边形刀片。它除了在刀尖上具有一个凹坑作为次断屑槽之外,沿主刀刃还有两条主断屑槽,二者之间,由一条凸脊分开。靠近刀刃的第一条主断屑槽,其外斜面与水平面之间的角度为12°,第二条主断屑槽为5°,前者槽较浅,后者槽较深。脊则宜低于顶平面。次断屑槽的倾角,沿刀尖角的平分线测量时,其前斜面的倾角为17°,最好取17°;后斜面为25°,最好是25°。这类断屑槽,适用于不同切削用量的粗、精加工,精车时,刀尖处的次断屑槽,把切屑断成螺旋状;半精车时,因进给量较大,这时靠近主刀刃的第一条主断屑槽,起断屑作用;粗车时,进给量更大,切屑由第二条主断屑槽来断屑。
|
但根据一些使用厂的初步试验结果来看,其适用的切削用量范围,不是所想像的那样宽广。例如,T3K1305W型刀片,起始断屑的切削用量数值小,断屑效果好,以v=60~100米/分的切削速度加工45号钢料时,在t=1~3毫米、s=0.1~0.6毫米/转,及t=0.5~1毫米、s=0.15~0.2毫米/转的范围内,都可以稳定地断屑。即精车及半精车时可以得到满意的断屑效果。但粗车时,则不甚理想,切削深度t增大时,容易产生飞屑,且容易崩刃。这方面还有待改进。
近年来出现了具有凹弧形断屑槽的不重磨硬质合金刀片,图2-71所示为其四边形的一种。这类刀片的断屑槽形状和尺寸,在刀刃各处是变化的。刀刃上有个平的刃带,刃带在靠近刀尖处最窄,离刀尖愈远愈宽,到刀刃中部最宽。从刃带平面向内就是断屑槽,断屑槽各个截面的深度和宽度都不相同,即靠近刀尖处最窄最浅,到刀刃中部最宽最深。因而可以在各种不同切削用量的轻、重切削下顺利断屑。为了制造上的方便和经济性,这类断屑槽沿刀刃各处的断面都是同一半径的圆弧。为使刀刃在切削时得到更好的支承,减少刀刃崩裂的现象,刃带和刀片中间的支承面做在同一平面上。
近年来还出现了一种具有凹弧形刀刃的不重磨硬质合金刀片,图2-72所示为其四边形的一种。断屑台的底面做成圆柱面的一部分或球面的一部分,其球面中心就在垂直于刀片底平面的中心垂直线上,因此刀刃呈圆弧形。断屑台的内侧,是从台底面陡立的曲面,在纵向方向上为弧形,在垂直方向上有一定的斜度。因而刀刃上各点的台宽也是变化的,刀尖处断屑台最窄,刀刃中部最宽。根据资料介绍,这种刀片的优点是:断屑性能良好,可以用于重切削和轻切削;刀片装在负前角刀杆上,不仅可以获得正前角,而且可以获得负的或接近于零度的刃倾角,因而可以减少切削力,特别是可以减小径向切削分力,故可以在刚性较差、动力较小的条件下进行加工;此外,这种刀片的压模容易在铣床上加工准确,因而刀片毛坯的精度较好。
|
从结构上来看,上述两类刀片的工艺性,比具有二级或三级断屑糟的刀片为好。但断屑效果时好时坏,还要经过试验比较才能判别。
至于采用带断屑器(或压板)的机械夹固不重磨式硬质合金刀具来断屑,也是可行的。但这类刀具的刀头上面突出一块,不如断屑槽使用方便。
不重磨硬质合金刀片的夹固方法,按其结构形式分,常见的有压板式、杠杆式、偏心式、L杠杆式等几种。图2-73所示为一种杠杆式夹紧机构。拧动螺钉2,通过销子3使杠杆6摆动,即可使刀片4压向刀槽的两侧而夹紧。
1-刀杆2-螺钉3-销于4-刀片5-刀垫6一杠杆1-刀杆2-偏心销3-刀垫4-刀片 |
图2-74所示,为一种偏心式夹紧机构。旋转偏心销2,利用一定的偏心量;使刀片压向刀槽的两侧,即可夹紧。偏心销上做有螺纹,是为了加强偏心夹紧的自锁性。使用这种方法进行夹紧时,必须注意,只能使螺纹向下旋,而不能向上旋,否则会使刀片脱离刀槽支承面,影响正常的切削工作及刀具寿命。
2.6.2排屑
在切削加工自动线中,切屑源源不断地从工件上流出,如不及时排除,就会堵塞工作空间,使工作条件恶化,影响加工质量,甚至使自动线不能连续地工作。因此将切屑从加工地点排除,并将它收集起来运离线外,是一个不容忽视的问题。排屑装置虽然在结构上比较简单,却是自动线不可缺少的辅助装置,在某些情况下要满意地解决排屑问题,并不是一件容易的事,应当给予足够的重视。
1、工作地点的排屑方法
在加工地点清除切屑的方法决定于切屑的形状,工件的安装方式,机床的类型及其附属装置的布局等因素。一般有下列一些方法:
(1)、在夹具或底座上做出斜面或空口,利用切屑的自重落到机床下部的切屑输送带上,或直接排出床身外。
|
(2)、在加工时需用冷却润滑液的情况下,可利用冷却润滑液喷洗加工区域,将切屑冲走,然后应用滤清器把切屑沉积下来,定期排除。
此法广泛用于磨削加工、深孔钻等工序中,有时也用于整条自动线上。
图2-75为某自动线所用的以大流量冷却润滑液冲洗加工区以便排屑的供油系统示意图。用过了的冷却润滑液流回副油箱1,经过过滤以后,用离心泵2不定期地向主油箱3供油。在副油箱1上装有三个“浮子”开关。其一是在副油箱的油位超过一定限度时,发出信号使离心泵2起动吸油。当副油箱内的油位下降到一定限度时,另一个“浮子”开关断开,离心泵电动机停止。第三个“浮子”开关起保险作用,当第一个开关失灵时,可防止冷却润滑液外溢。冷却润滑液在流入主油箱3前,先经过滤网4过滤。主油箱中的冷却润滑液,由离心泵5输出,经分配器6送入自动线上方的冷却润滑液管道,对每一个加工工位的刀具进行冷却和冲屑。
自动线冷却润滑液油箱的容量:
V=KQ
式中 K——系数,一般取2~3;
Q——泵的流量(升/分)。
而 Q=K1Sq
式中 K1——系数,取1~1.2;
S——自动线的加工工位数;
q——每一个加工工位所需的流量(升/分)。
故冷却润滑液油箱容量可由下式算出:
V=KK1Sq
(3)、用压缩空气喷吹。对于钻削不通孔或其他难于排出切屑容易影响工件定位精度的地方,常常采用这种方法。但须注意防止切屑四处飞扬,以免对机床和其他设备产生不良影响和影响环境卫生。
(4)采用真空吸尘装置。对于加工铸铁所形成的粉末状切屑用此法最好。在每一工位的夹具上装着分支真空吸管,与主干吸管相通。如果与喷吹装置联用效果更好,但这种装置的成本较高。
(5)在适当的运动部件上,附设刷子或刮板,周期性地将工作地点的切屑耙出去。
(6)在自动线中安排清屑或清洗工位。在某些特殊情况,为了防止因切屑的影响导致故障,需在自动线的某些工序间设置清屑工位和专用机构。例如在立式机床上钻孔后攻丝,为了将钻孔后的碎屑清除干净,以免攻丝时折断丝锥,可在两个工位之间设置翻转倒屑装置,将工件(或随行夹具连同工件)翻转180°,倒出切屑。图2-76是一种液压翻转倒屑装置。叶片5、振臂4、支臂9与油缸体是固装在一起的。当随行夹具被送到支臂9上后,压力油从轴2的a孔进入回转油缸,推动叶片5带着支臂9及随行夹具绕轴2回转180°。当转到终点时,振臂4碰到液压振荡器的柱塞7。此时,液压振荡器通过压力油使柱塞7产生往复振荡。柱塞在振荡过程中向右移动时,将振臂4反时针方向顶开一个角度,向左复位时,振臂4由于机构的自重而撞在固定挡块6上。如此往复振动,将切屑倒尽。振荡器用时间继电器控制,经过一定时间后,压力油从b孔进入油缸,将支臂连同工件、随行夹具转回原位。
图2-77翻转倒屑液压传动原理图 图2-78液压振荡器结构原理图 |
1-原位开关及振荡控制开关 2-轴 3-随行夹具 4一振臂 5-叶片 6一挡炔 7-柱塞 8-辅助滚动支承 9-支臂 |
图2-77为这种翻转倒屑装置的液压原理图。当电磁铁1DT通电后,从油泵排出的油,经三位五通电磁滑阀及行程节流阀,流入回转油缸的左腔(相当于图2-76的a孔),带动工件回转。回转至一定角度时,挡铁压下行程节流阀,实现节流缓冲。当振臂接触液压振荡器后,行程开关使电磁铁1DT断电和3DT通电,于是二位三通电磁滑阀接通了压力油到振荡器之油路,振荡器开始振荡。振荡时间可用延时继电器控制。当振荡结束后,延时继电器发出信号使电磁铁3DT断电和2DT通电。于是从油泵排出的油,经三位五通电磁滑阀流人回转油缸的右腔,带动工件返回。当返回接近原位时,回转油缸上的挡铁压下行程节流阀,实现缓冲以消除工件与输送带导轨的撞击。
图2-78为液压振荡器的结构原理图。当通入压力油时,压力油流入h腔和d腔。流入h腔的油经k腔流入e腔,将滑阀3推向左边,结果使流入d腔的油经c腔流向柱塞1的左腔,推动柱塞1右移,顶开振臂。而柱塞右腔的油则经l腔流回油箱。
柱塞1在移动过程中又带动滑阀2移动。当滑阀2将h腔与k腔的通路堵死,并将h腔与g腔的通路打开时(如图所示),油路就发生了变化。此时压力油经g腔流入a腔,推动滑阀3右移,使b腔与c腔接通。而c腔是与柱塞1的左腔相通的,b腔是经f腔与油箱相通的。所以柱塞1的左腔通油箱,柱塞1在工件等的重力作用下,便向左移动。
柱塞1左移时,又带动滑阀2移动。当滑阀2又封闭了h腔与g腔的通路,而打开h腔与k腔的通路时,就完成了一个振荡循环。
1-皮带 2-主动轮 3-容屑地坑 4-上支承滚子 5-下支承滚子 6-电动机 7-减速器 |
采用这种翻转振荡倒屑方法时,要注意振荡时将回转油缸的进油口和出油口连通。因为在振荡过程中,回转油缸的叶片在不断地摆动,回转油缸的两个腔,时而吸油,时而排油,若无法吸油或无法排油,就振荡不起来。在图2-77所示的液压系统图中,是采用一个Y型三位五通电磁滑阀来实现这个要求的。此外,为了保证振荡性能,应使回转油缸的压油腔排出的油,全部地流入吸油腔。因为压油腔排出的油,如有一部分流回油箱,就势必会使吸油腔形成一定程度的真空,对振荡会有不利的影响。所以本系统在调速阀之后串联了一个背压阀。
2、将切屑运出线外的装置
将自动线中的切屑运出线外,常用的装置有三种类型:皮带输屑装置,刮板式输屑装置和螺旋输屑装置。
(1)、皮带输屑装置
在自动线的纵向,用宽型皮带1贯穿机床的下方(图2-79)。切屑落在皮带上后,被带到容屑坑3中定期排除。这种装置只适用于铸铁工件进行孔加工的情况。当加工钢件或铣削铸铁工件时,切屑会无规律地飞溅,常常落到两层皮带之间被带到滚轮处而引起故障。同时不宜在采用冷却润滑液的条件下使用。皮带应采用耐油性好不易产生永久变形的材料。
(2)、刮板式输屑装置
这种装置也是纵向贯穿自动线而敷设的,它可以用封闭式链条做成连续移动式的,也可以做成往复运动式的,整个装置可以敷设在地沟里,也可以设置在贯通机床床身或底座的铁皮槽内。图2-80是敷设在地沟里的链条板式输屑装置。封闭式链条2装在两个链轮5和6上。焊在链条两侧的刮板1将地沟中的切屑刮到深坑7中,再用提升器将切屑升起倒入小车运走。下边的链条用纵贯全线的支承3托着,使刮板1不与槽底接触。为了避免上边的链条下垂,用上支承4托着。主动链轮要根据刮屑方向确定,保证链条下边是紧边。
|
2.7 刀具的快换及调整装置
在切削加工自动线中,刀具在达到磨损极限时,加工质量就不能保证,刀具也易于崩坏,因此必须进行更换和调整。对于加工精度要求较高的工序,即使刀具还未达到磨损极限,但工件的尺寸精度快要超出公差范围,刀具的尺寸耐用度已达到了允许的限度时,也必须进行微量调整(补偿磨损)。如果刀具的切削性能不够稳定可靠,经常要换刀调刀,或夹持调整机构不够完善,每次换刀调刀要花费很长时间,自动线就得不到应有的经济效果。所以正确地选择刀具的结构及其夹持与调整机构,具有很重要的实际意义。
为了提高自动线工作的稳定可靠性,及节省换刀调刀时间,自动线应尽可能采用机械夹固不重磨式硬质合金刀具、快换刀夹及线外对刀装置。
图2-81车刀的夹持机构 图2-82不重磨硬质合金车刀 |
在图2-81中列举了几个快换刀夹的例子。图a是轴承自动线中加工轴承内环的倒角刀夹。它利用切削力进行夹紧。整个刀夹以支座5装在机床刀架上。通过螺钉6可以调整刀夹相对于工件径向的位置。倒角刀头7安装在刀夹座1中,其尾端用螺钉9支承在刀夹座的小平面上,两边用强力弹簧片8和10预夹持,切削时依靠切削力压紧在刀夹座的两个垂直面和底面上。刀头7的长度,可以在线外用辅具预先通过螺钉9调好。装上刀夹后,刀头的高低不需要再调整。图b、c为环形硬质合金刀片用切削力夹固的刀夹。图b中刀片1装在套筒3上,用拉杆2和弹簧4把2预压紧,套筒3装在刀杆(图中未示出)上,刀片由切削力夹固。图c则用刀体S下面的片弹簧4及拉杆2将刀片1进行预压紧。环形刀片的优点是当刀刃磨损后只须将刀片转一个角度,即可恢复切削能力,因而不需要经常刃磨。但由于加工时产生的径向切削分力较大,故不宜用于加工刚性较差的工件。
为了节省换刀调刀时间,除了快速更换以外,还要快速调整。最有效的快速调整办法之一,是预先将刀具的尺寸在机床外调整好,然后将刀具安装在专用的刀夹上使用。为此,一些车刀刀体1的尾部,往往设置有调节螺钉3和锁紧螺母2,如图2-82所示。
图2-83为一种线外对刀机构。被调刀具2以其刀体的一侧及刀具头部贴靠在调刀座1的两个垂直平面上。刀体尾部的销钉3与百分表5的量杆接触,根据百分表的读数调节销钉3的伸出长度,再用螺钉4锁紧,即可达到刀具所要求的长度。
图2-84所示,为线外对刀用的捧类刀具轴向尺寸对刀仪。它由对刀架及标准的高度千分尺组成,结构简单,使用方便。当由于某种原因不允许在线外对刀时,可以采用图2-85所示机构进行对刀。图中4为测量挡块,3为带刻度的测量杆,利用V形定位块1及2跨在主轴及接杆的外圆上,即可迅速进行调整。
图2-83线外对刀机构 图2-84轴向尺寸对刀仪 |
在镗削工序中调整镗刀头的径向尺寸时,生产中广泛应用了带千分表的V形调整装置。图2-86所示为调整精镗刀头用的调整装置。V形定位块1安装在镗刀杆5上,并用螺钉2夹紧。刀头4预先装在镗刀杆内,用微调螺钉3调整。刀头4所需的径向尺寸,根据千分表6的读数来确定。
对于精加工工序,由于工件的尺寸公差较严,刀具的尺寸耐用度较低,在必要时应考虑设置自动补偿装置。
图2-85机床上对刀 图2-86镗刀头调整装置 |
我收藏的店铺
我的
商家入驻
15904040249
我要开店
积分签到

0
324






我的
咨询
购
顶部